Frame Corners – A Common D-Region Problem

    Webinar date:

  • 2026-02-25T10:00:00.0000000Z
    (in your local time, 24-hour format)

Join the webinar and learn about

  • Why frame corners are critical D-regions in RC structures?
  • Challenges of the strut-and-tie method and why it might not be enough
  • What failures can occur and how to prevent them?
  • Step-by-step design example of a haunched frame corner

Speakers

Orsolya Kartali
Orsolya Kartali Product Engineer
IDEA StatiCa
Adam Kozousek
Adam Kozousek Product Engineer
IDEA StatiCa
Frame corners are typical discontinuity regions in the design of RC structures. The aim of this webinar is to show how frame corners and similar D-regions—traditionally designed using strut-and-tie models—can be analyzed using the Detail application and the CSFM (Compatible Stress Field Method).
inline image in article

Traditional methods for designing reinforcement in frame corners are based on a set of detailing rules and equivalent strut-and-tie models. For various geometries and loading conditions, numerous strut-and-tie models are available in the literature. Selecting the appropriate model therefore relies heavily on the engineer’s experience.
A detailed verification of a strut-and-tie model—including anchorage checks and consideration of transverse tensile stresses in compressed struts—is time-consuming and labor-intensive.

inline image in article

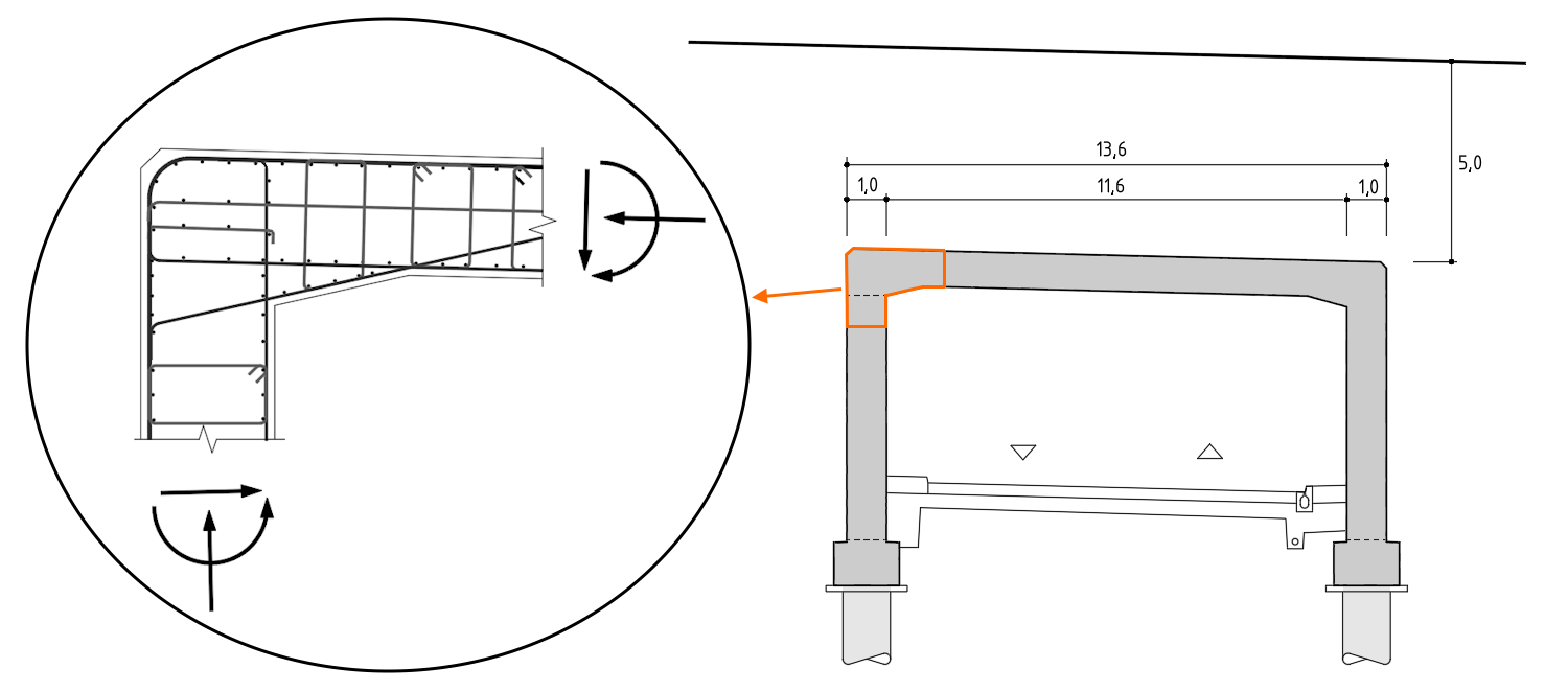
The objective of this webinar is to present, using a specific example of a frame corner in the lining of a backfilled tunnel, a design approach based on the CSFM (Compatible Stress Field Method) implemented in IDEA StatiCa Detail.
This materially nonlinear method fully replaces the strut-and-tie model and, in addition to ultimate limit state verification, also provides assessment of the serviceability limit state (stress limitations and crack width).

inline image in article

During the webinar, the frame corner will be modeled as a cut-out segment of the structure. The correct support conditions and loading of this segment model will be explained. The outputs of the CSFM analysis and their interpretation will be discussed in detail.
Finally, a detailed demonstration will show how to use the software to design reinforcement for transverse tensile stresses in the “main diagonal” of the frame corner and how to optimize the reinforcement layout.

Want to see more webinars?

Learn more about discontinuity details design in reinforced and prestressed concrete with IDEA StatiCa:

Webinar recording

Attached Downloads