IDEA StatiCa Detail – Structural design of concrete 3D discontinuities

Navigation

    Structural design of concrete 3D discontinuities in IDEA StatiCa Detail

    Introduction to the 3D CSFM method

    General introduction for the structural design of concrete 3D details
    Main assumptions and limitations
    Mohr-Coulomb plasticity theory implementation in 3D CSFM
    General mechanics assumptions for 3D CSFM

    Analysis model of IDEA StatiCa 3D Detail

    Introduction to finite element implementation
    General finite element types
    Load transfer devices
    Meshing in 3D CSFM
    Solution method and load-control algorithm for 3D CSFM
    Presentation of 3D results
    Model imported from IDEA StatiCa Connection

    Model verification

    Limit states

    Structural verifications according to EUROCODE

    - Material models in 3D CSFM (EN)
    - Partial safety factors
    - Ultimate limit state checks

    Structural verifications according to ACI 318-19

    - Material models in 3D CSFM (ACI)
    - Strength reduction and load factors
    - Strength verifications

    Structural verifications according to AS 3600

    - Material models in 3D CSFM (AUS)
    - Stress and strength reduction factors and load factors
    - Strength and anchorage verifications



    Introduction to the 3D CSFM method

    A general introduction to the structural design of concrete 3D details

    In practice, engineers may encounter different types of finite elements (from simple 1D bar elements to more complicated 3D brick elements) that are used in a variety of applications for the analysis and design of structural elements. A common feature of most of the computations in practice tends to be the linear behavior of the models, the advantages of which are undoubtedly speed, clarity, and simply the fact that for a large variety of problems, this solution is quite sufficient.

    Especially in the world of concrete structures, it often happens that the linear approach is not sufficient simply because after the first cracks appear in the loaded element, the stresses are redistributed and the problem becomes significantly non-linear.

    For these cases, it is necessary to choose one of the more sophisticated approaches. For 1D cases, analytical methods defined directly in codes can often be found. For example, popular Strut and Tie models can be built for 2D planar elements and discontinuity regions (D-regions), or the more sophisticated stress field method implemented in IDEA StatiCa Detail, CSFM, can be used.

    However, if the engineer encounters a problem that cannot be simplified into planar behavior, the options are very limited. Of course, a 3D Strut and Tie model can be built or semi-scientific software can be used for accurate analysis. These procedures are often time-consuming, not code-compliant, and require an engineer knowledgeable in advanced modeling methods.

    For this reason, IDEA StatiCa has developed and implemented the 3D CSFM (Compatible Stress Field Method) in the Detail application. 3D CSFM extends the established CSFM into a third dimension, offering a fast and code-compliant solution that is primarily applicable to the everyday engineer, giving them a unique new ability to safely tackle the complex details of concrete structures.

    Main assumptions and limitations for CSFM in 3D

    3D CSFM defines the concrete behavior based on the Modified Mohr-Coulomb plasticity theory for monotonic loading. The method considers principal concrete stresses in compression and reinforcement stresses (σsr) at the cracks while neglecting the concrete tensile strength (tension cut-off), except for its stiffening effect on the reinforcement (Tension stiffening).

    σc1r, σc2r, σc3r ≤ 0 MPa

    The reinforcement bars are linked to concrete volume finite elements through bond elements, allowing for slip between the concrete and reinforcement. It should be noted that 3D CSFM is not suitable for simulating plain concrete due to the absence of tension, which may result in misleading deformation and model divergence. Generally, the Mohr-Coulomb theory includes two fundamental properties governing the evolution of the plasticity surface in compression and partially in tension: the internal friction angle φ and cohesion parameter c. 3D CSFM assumes a zero angle of internal friction (Fig. 1e), leading to a conservative design due to the plasticity surface resembling the Tresca model, which is independent of the first stress invariant.

    inline image in article

    \( \textsf{\textit{\footnotesize{Fig. 1\qquad Basic assumptions of the 3D CSFM: (a) principal stresses in concrete; (b) stresses in the reinforcement direction;}}}\) \( \textsf{\textit{\footnotesize{(c) stress-strain diagram of concrete in terms of maximum stresses; (d) stress-strain diagram of reinforcement}}}\) \( \textsf{\textit{\footnotesize{in terms of stresses at cracks and average strains; (e) Mohr's circles for concrete model in 3D CSFM; (f) bond shear stress-slip}}}\) \( \textsf{\textit{\footnotesize{relationship for anchorage length verifications.}}}\)

    Concrete 

    The presented material model is a multisurface plasticity model given by the combination of the Mohr-Coulomb and Rankine models for monotonic loading. It’s important to note that this model does not address unloading, therefore, state variables are not stored, as they would be in classical plasticity models used for cyclic loading.

    inline image in article

    \[ \textsf{\textit{\footnotesize{Fig. 2\qquad Mohr-Coulomb multi-surface plasticity model for friction angle 0 degree}}}\]

    As already mentioned, the material model is intended for use in applications that calculate the response of reinforced concrete (not suitable for plain concrete). This is due to the exclusion of concrete in tension. Therefore, the model is not even suitable for structural elements where the design rules for reinforced concrete such as minimum reinforcement ratio, maximum bar spacing, etc., are not fulfilled. It should also be added that, for numerical stability reasons, a very small tensile capacity is defined in the model. The tensile part is restricted by planes corresponding to the Rankine model.

    3D CSFM in IDEA StatiCa Detail does not consider an explicit failure criterion in terms of strains for concrete in compression (i.e., it considers an infinitely plastic branch after the peak stress is reached). This simplification does not allow the deformation capacity of structures failing in compression to be verified. However, their ultimate capacity is properly predicted when the increase in the brittleness of concrete as its strength rises is considered by means of the 𝜂𝑓𝑐 reduction factor defined in fib Model Code 2010 as follows:

    \[f_{c,red} = \eta _{fc} \cdot f_{c}\]

    \[{\eta _{fc}} = {\left( {\frac{{30}}{{{f_{c}}}}} \right)^{\frac{1}{3}}} \le 1\]

    where:

    fc is the concrete cylinder characteristic strength (in MPa for the definition of \( \eta_{fc} \)).

    The fc,red is then compared with the Equivalent Principal Stress σc,eq in concrete, which will be defined further, of course, with consideration of all safety factors prescribed by code.

    A detailed description of the concrete model can be found at the following link:

    Reinforcement

    The bilinear stress-strain diagram for reinforcement bars, as defined by design codes (Fig. 1d), represents an idealized model. This model necessitates knowledge of the basic properties of the reinforcement during the design phase, specifically the strength and ductility class. Alternatively, users have the option to define a customized stress-strain relationship.

    Tension stiffening is considered by modifying the stress-strain relationship of the bare reinforcing bar to capture the average stiffness of the bars embedded in the concrete (εm) (Fig 1b).

    Anchorage

    Bond-slip between reinforcement and concrete is introduced in the finite element model by considering the simplified rigid-perfectly plastic constitutive relationship presented in (Fig. 1f), with fbd being the design value (factored value) of the ultimate bond stress specified by the design code for the specific bond conditions.

    This is a simplified model with the sole purpose of verifying bond prescriptions according to design codes (i.e., anchorage of reinforcement). The reduction of the anchorage length when using hooks, loops, and similar bar shapes can be considered by defining a certain capacity at the end of the reinforcement, as will be described further.

    Anchors

    The element of the anchor is defined as being able to transfer normal tensile or compression forces, as well as shear forces, considering the bending stiffness. 

    The following types of anchors are available:

    • Cast-in-place anchors
      • Reinforcement
      • Washer plate
      • Headed stud
    • Cast-in-place reinforcement
      • Reinforcement
      • Threaded rods


    Cast-in-place - Reinforcement

    Modeled as ribbed reinforcement embedded in concrete. Bond strength is calculated according to selected code rules in the same way as for standard reinforcement. At the anchor end, an Anchorage type can be defined, working identically to reinforcement - an anchorage spring is applied with the β-factor set according to the chosen code. Three geometric shapes are available: Straight, L-shape, U-shape.

    inline image in article

    \[ \textsf{\textit{\footnotesize{Fig. 3\qquad Cast-in reinforcement anchor - shapes}}}\]

    Cast-in-place - Washer plate and Headed stud

    The washer plate and the head of the headed stud are modeled as a plate-shell element from the corresponding material attached directly to the anchor shank. It transfers load to the concrete through compression-only contact. Available shapes: circular and square (only circular for headed stud), with customizable dimensions. The washer plate and head model is elastic and is not checked for resistance. 

    At the finite element model level, the pull-out of the anchor is directly checked. The compression contact has stop criteria set so that it is not able to transfer greater contact stress to the concrete than prescribed by the selected standard. In practical terms, this means that if the anchor were to be loaded with a force that does not comply with the pull-out assessment, the result would be premature termination of the calculation because this stop criterion would be exceeded during further loading.

    The anchor shank has zero bond strength – all load is transferred to the concrete through the plate or head into the concrete.

    Post-installed - Reinforcement and Threaded rod

    Designed as bars installed into drilled holes and bonded with adhesive. The engineer specifies the design bond strength directly from the technical specification of the adhesive product.

    More information about connecting individual anchor types to the base plate or cast-in plate can be found in the chapter Finite elements types - Load transferring devices

    Mohr-Coulomb plasticity theory implementation in 3D CSFM

    In the following chapter, we will take a look at how the Mohr-Coulomb theory is implemented in 3D CSFM. We will explain how the confinement effect (triaxial stress) is considered and how the Equivalent Principal Stress σc,eq is calculated, which is used to determine the load-bearing capacity from the point of view of concrete.

    Introduction to the theory

    Mohr–Coulomb theory is a mathematical model describing the response of brittle materials, to shear and normal stress. Most of the classical engineering materials follow this rule in at least a part of their shear failure envelope. Generally, the theory applies to materials for which the compressive strength far exceeds the tensile strength.

    inline image in article

    \[ \textsf{\textit{\footnotesize{Fig. 4\qquad Mohr-Coulomb Plasticity Model }}}\]

    In structural engineering, it is used to determine failure load as well as the angle of fracture for displacement of fracture surface in concrete and similar materials. Coulomb's friction hypothesis is used to determine the combination of shear and normal stress that will cause a fracture of the material. Mohr's circle is used to determine which principal stresses will produce this combination of shear and normal stress and the angle of the plane in which this will occur. According to the principle of normality, the stress introduced at failure will be perpendicular to the line describing the fracture condition. 

    inline image in article

    \[ \textsf{\textit{\footnotesize{Fig. 5\qquad Meridian plane and tension cut-off}}}\]

    It can be shown that a material failing according to Coulomb's friction hypothesis will show the displacement introduced at failure forming an angle to the line of fracture equal to the angle of friction. This makes the strength of the material determinable by comparing the external mechanical work introduced by the displacement and the external load with the internal mechanical work introduced by the strain and stress at the line of failure. By conservation of energy, the sum of these must be zero and this will make it possible to calculate the failure load of the construction.

    Implementation in 3D CSFM

    In general, for a given angle of internal friction of the concrete, which is around φ = 30-40° in Reference [1], [2], [3], [4], the tensile and compressive strengths of the concrete Mohr's circles can be constructed as in Figure 6.

    inline image in article

    \[ \textsf{\textit{\footnotesize{Fig. 6\qquad Mohr's circles for concrete}}}\]

    Where fc is concrete strength in compression, fct is concrete strength in tension, φ is the angle of internal friction, and σc1, σc3 are the principal stresses of concrete under triaxial compression.

    It can be noticed that as the principal stress σc3 increases, the maximal possible difference between the values of σc3 and σc1, which we define as maximal σc,eq (see below), also increases. This difference corresponds to twice the deviatoric stress defined in the literature as a radius of the mohr circles.

    In 3D CSFM implemented in IDEA StatiCa Detail, the angle of internal friction is considered as φ = 0°, as shown in Figure 7.

    inline image in article

    \[ \textsf{\textit{\footnotesize{Fig. 7\qquad Mohr's circles for concrete implemented in IDEA StatiCa Detail}}}\]

    The practical consequence of this implementation is that the maximum difference between σc3 and σc1 is constant as σc3 increases. 

    Equivalent Principal Stress expresses the equivalent uni-axial stress for a general tri-axial stress state.

    \[\sigma_{c,eq} = \sigma_{c3} - \sigma_{c1}\]

    The σc,eq value can, therefore, be directly compared with uniaxial strength limits according to codes.

    \[\frac{\sigma_{c,eq} }{ \sigma_{c,lim}} \le 1\]

    Where σc,lim is the design (factored) uniaxial strength of concrete fc.

    Comparing Figure 6, where the real angle of internal friction is used, and Figure 7, which shows the Mohr-Coulomb theory implementation with zero angle of internal friction, it can be seen that the approach chosen for the calculations in Detail is very conservative for the assessment of triaxial stress state.

    For a better understanding of the areas affected by tri-axial compression stress, the expression of the increase of the effective material strength due to tri-axial compression has been added to the IDEA StatiCa Detail application as a ratio σc3c,lim. You can find this ratio in the Strength code check.

    In the Auxiliary results, the user can also find the κ factor, which explains the tri-axiality in a different way. 

    \[\kappa =   \frac{ \sigma_{c3}}{ \sigma_{c,eq}}\]

    The concrete strength check can be then rewritten as:

    \[\frac{\sigma_{c,eq} }{ \sigma_{c,lim}} = \frac{\sigma_{c,3} }{ \kappa \cdot \sigma_{c,lim}} \le 1\]

    It follows from the previous that if the element is under hydrostatic stress - σc3c2c1, the Equivalent Principal Stress σc,eq will have the zero value, and the kappa factor will reach infinity.

    More can be found here: Tri-axial stress – the active confinement effect

    General mechanics assumptions for 3D CSFM

    Equilibrium equations

    The theory of small deformations enables the assembly of the equilibrium equation based on the undeformed volume using a first-order approach. 

    inline image in article

    \[ \textsf{\textit{\footnotesize{Fig. 8\qquad Equilibrium equations and graphical representation on infinitesimal element}}}\]

    Compatibility equations

    A solid body comprises infinitesimal volumes or material points, each of which is interconnected without gaps or overlaps. Mathematical conditions must be adhered to in order to prevent the occurrence of gaps or overlaps when a continuum body undergoes deformation.

    Constitutive equations

    The constitutive equations governing the behavior of 3D elements play a pivotal role in the analysis of material behavior in structural mechanics. These equations are formulated to accommodate the non-linear isotropic behavior, which is valid for solid block members in IDEA StatiCa Detail. 

    inline image in article

    \[ \textsf{\textit{\footnotesize{Fig. 9\qquad Linearly elastic isotropic compliance matrix}}}\]


    Analysis model of IDEA StatiCa 3D Detail

    An introduction to finite element implementation

    3D CSFM considers continuous stress fields in the concrete (3D finite elements), complemented by discrete “rod” elements representing the reinforcement (1D finite elements). Therefore, the reinforcement is not diffusely embedded into the concrete 3D finite elements but explicitly modeled and connected to them. 

    inline image in article

    \[ \textsf{\textit{\footnotesize{Fig. 10\qquad Rendering of the calculation model for concrete block and out-of-plane wall}}}\]

    General finite element types

    The non-linear (inelastic) finite element analysis model is created by several types of finite elements used to model concrete, reinforcement, and the bond between them. Concrete and reinforcement elements are first meshed independently and then interconnected using multi-point constraints (MPC elements). This allows the reinforcement to occupy any position not limited to nodes of tetrahedral mesh. To verify anchorage length, bond, and anchorage end spring elements are inserted between the reinforcement and the MPC elements.

    inline image in article

    \[ \textsf{\textit{\footnotesize{Fig. 11\qquad Finite element model: reinforcement elements mapped to concrete mesh using MPC and bond elements}}}\]

    Concrete

    Concrete is analyzed using mixed tetrahedral elements with nodal rotations. The tetrahedral elements allow us to mesh regions of any topology while the implemented formulation guarantees accurate deformation results (without spurious shear stress known as the shear lock effect) even for the coarse mesh which would not be suitable for linear tetrahedral elements formulation. 

    Full integration is utilized. It means that each element is equipped with four integration points situated within the volume. Such an integration yields a precise strain and stress field, allowing for sufficient evaluation and presentation of the results across the whole volume. Subsequently, the stop criteria are established based on the value in the integration point.

    Reinforcement

    Rebars are modeled by two-node 1D “rod” elements (CROD), which only have axial stiffness. These elements are connected to special “bond” elements that were developed in order to model the slip behavior between a reinforcing bar and the surrounding concrete. These bond elements are subsequently connected by MPC (multi-point constraint) elements to the mesh representing the concrete. This approach allows the independent meshing of reinforcement and concrete, while their interconnection is ensured later.

    Bond elements

    The anchorage length is verified by implementing the bond shear stresses between concrete elements (3D) and reinforcing bar elements (1D) in the finite element model. For this purpose, the “bond” finite element type was developed.

    The bond element is defined as a shell finite element connected to elements representing reinforcement by the first layer and by the second layer to concrete mesh via multi-point constraints (MPC elements). It should be noted that the bond element is always displayed in this article with a non-zero height, which is, however, defined as infinitesimal in the model.

    The behavior of this element is described by the bond stress, τb, as a bilinear function of the slip between the upper and lower nodes, δu, see (Fig. 12).

    inline image in article

    \[ \textsf{\textit{\footnotesize{Fig. 12\qquad (a) Conceptual illustration of the deformation of a bond element; (b) shear-deformation function}}}\]

    The elastic stiffness modulus of the bond-slip relationship, Gb, is defined as follows:

    \[G_b = k_g \cdot \frac{E_c}{Ø}\]

    kg            coefficient depending on the reinforcing bar surface (by default kg = 0.2)

    Ec            modulus of elasticity of concrete (taken as Ecm in case of EN)

    Ø             the diameter of the reinforcing bar

    The design values (factored values) of ultimate bond shear stress, fbd, provided in the respective selected design codes EN 1992-1-1 or ACI 318-19 are used to verify the anchorage length. The hardening of the plastic branch is calculated by default as Gb/105.

    Anchorage spring

    The provision of anchorage ends to the reinforcing bars (i.e., bends, hooks, loops…), which fulfills the prescriptions of design codes, allows the reduction of the basic anchorage length of the bars (lb,net) by a certain factor β (referred to as the ‘anchorage coefficient’ below). The design value of the anchorage length (lb) is then calculated as follows:

    inline image in article

    \[ \textsf{\textit{\footnotesize{Fig. 13\qquad Model for the reduction of the anchorage length: a) Anchorage force along the anchorage length of }}}\] \[ \textsf{\textit{\footnotesize{the reinforcement bar, b) slip-anchorage force constitutive law}}}\]


    The reduction of the anchorage length is included in the finite element model by means of a spring element at the end of the bar (Fig. 13a), which is defined by the constitutive model shown in (Fig. 13b). The maximum force transmitted by this spring (Fau) is:

    \[F_{au} = \beta \cdot A_s \cdot f_{yd}\]

    where :

    β             the anchorage coefficient based on anchorage type

    As            the cross-section of the reinforcing bar

    fyd           the design value (factored value) of the yield strength of the reinforcement

    Load transfer devices

    Base plate

    The base plate is modeled as an elastic shell element. The steel material used for base plates is defined in the Materials tab. The only physical property is the modulus of elasticity E.

    inline image in article

    \[ \textsf{\textit{\footnotesize{Fig. 14\qquad The base plate material definition}}}\]

    The base plate can be loaded by the point load (Fx, Fy, Fz, Mx, My, Mz) and the group of forces (Fx, Fy, Fz), mainly used for loading models exported from the IDEA StatiCa Connection. Note that point loads and point moments directly load the corresponding node of the base plate. It means that there is no redistribution, only by the stiffness of the base plate. 

    This implementation allows importing load effects from the IDEA StatiCa Connection that are applied to the base plate at the location of the individual weld finite elements with the value and direction determined from the general stress of that weld finite element. More can be read in the corresponding chapter of this document.

    The second loading option is the Stub — representing a short portion of the column above the base plate. The stub is modeled as an elastic shell element structure and behaves as a physically accurate interface between the internal forces and the plate. The user selects a cross-section for the stub from a standard section database. The 6-component internal force set (forces and moments) is applied at a single point on the bottom face of the stub — i.e. the base of the column. Constraints transfer the forces to the top face of the stub, from where they are naturally redistributed through the stub into the base plate, anchors, and concrete.

    inline image in article

    \[ \textsf{\textit{\footnotesize{Fig. 15\qquad The load transfer through the stub}}}\]


    Shear transfer mechanism (from base plate to concrete block)

    Frictional compression-only contact is defined between the baseplate and concrete. For the shear transfer user can choose from three options:

    • By anchors
    • By friction
    • By shear lug

    The software does not allow the combination of these shear transfer mechanisms. 

    The friction coefficient should be input as a designed (factored) value. In case the resultant shear force Fxy exceeds the pressure force Fz times the frictional coefficient μ, the calculation will stop, and not all the loads will apply to the model. The condition is written as follows:

    \[\frac {F_{xy}}{ \mu \cdot F_{z}}\le 1\]

    This can be seen in the following example, where two load cases are considered. 

    • LC1 - Permanent type - Fz = 100 kN
    • LC2 - Variable type- Fx = 100 kN
    inline image in article

    \[ \textsf{\textit{\footnotesize{Fig. 16\qquad Load input for example explaining shear transfer by friction}}}\]

    In the first calculation step, all the permanent load is applied. Then the variable load is gradually applied until it reaches the value of the pressure load times the friction coefficient.

    inline image in article

    \[ \textsf{\textit{\footnotesize{Fig. 17\qquad Results from example explaining shear transfer by friction}}}\]

    The graph in Figure 18 defines the behavior of the frictional contact between the baseplate and concrete.

    inline image in article

    \[ \textsf{\textit{\footnotesize{Fig. 18\qquad Force-displacement graph describing the behavior of frictional contact}}}\]

    The value of Fzμ differs for each increment of the calculation, whereas the value of maximal shear deformation uxy is constant. 

    If the compressive normal force Fz and the shear force Fxy are input in one load case type (e.g. only permanent), and the condition of Fxy / (Fzμ) ≤ 1 is not fulfilled, no load will be applied to the model because the condition is not fulfilled in any increment of the calculation.

    The shear lug is connected with the concrete mesh by constraints allowing only compression only normal stress transfer. 

    inline image in article

    \[ \textsf{\textit{\footnotesize{Fig. 19\qquad Shear lug transfer of shear mechanism}}}\]

    The shear lug is modeled from elastic shell elements, where the modulus of elasticity E defines the material.

    The results are not evaluated and displayed for the base plate as well as for the shear lug.


     Base plate options  (stand-off, grout)

    The following set of stand-off options, fully aligned with the Connection application, is available.

    • Direct
    • Mortar joint – nuts from the top
    • Mortar joint – nuts from the top and bottom
    • Gap

    The mortar layer is modeled as a shell element, with its stiffness taken into account. Note that shell elements are incompressible in the direction of their thickness. This helps to redistribute local forces to the concrete and is valid for typical bedding thicknesses used in practice - 25-50 mm.

    The distinction between nuts only from the top (pinned interconnection between anchor and base plate) vs. top and bottom (fixed interconnection between anchor and base plate) strongly influences the shear capacity from the point of view of concrete bearing.

    Anchors

    The finite elements representing anchors are modeled to be able to transfer normal and shear forces to the concrete, also taking into account the bending stiffness of the anchors. To model the slip between the anchor and the surrounding concrete, the same bond and MPC elements are used as for the reinforcement. With the difference that:

    • For post-installed (adhesive) anchors, it is necessary to specify the design bond strength.
    • For Washer plates and Headed studs, the bond is neglected along the shank of the anchor. All axial load is then transferred to the concrete through the washer plate or head of the anchor.

    Anchors can be interconnected with base plates. For this interconnection, a fully nonlinear constraint is used to connect the anchor's end and a base plate node. This constraint allows us to control all degrees of freedom to ensure, for example, that the anchors transfer no compression force from the base plate, or that no shear is transferred by the anchor when modeling a shear lug, etc.

    Interconnection with base plate properties for anchors allows the user to control whether the anchor will be connected with the base plate by the previously mentioned constraint and how. 

    inline image in article

    \[ \textsf{\textit{\footnotesize{Fig. 20\qquad Interconnection with base plate settings}}}\]

    The Transfer of shear checkbox can be used to control whether the anchor and base plate will be connected or not in terms of shear. Note that it is not supported to combine shear transfer mechanisms, so for transfer by friction and shear lug, this checkbox is irrelevant. On the other hand, for shear transfer using anchors, this field gives the option to exclude some anchors from shear transfer.

    The Transfer of axial forces checkbox can be used to control whether the anchor and base plate will be connected or not in terms of the axial direction. This is mainly used for the export from the Connection feature (see the corresponding chapter). For manual modeling, it makes sense to have this checkbox always checked.

    When the checkbox is unchecked, the anchor is disconnected in both tension and compression (in the case of a model exported from the Connection application, the connection is replaced by a pair of forces). If the checkbox is checked, the anchor is always connected to the plate in tension, but the connection in compression is controlled by the anchor type and the type of stand-off. For more information, see Figure 23.

    Cut threads

    Controlled by a checkbox in anchor properties and has 2 purposes:

    1. Defines how the anchor connects to the base plate:

      • For headed studs and cast-in reinforcement connected to the Base plate (not for Cast-in plates), it distinguishes between a bolt connection (pinned) and a welded connection (fixed) — visible in the 3D scene.
      • Note that the way of anchor-to-plate connection has a significant influence on the shear resistance from the point of view of bearing of the concrete.
    inline image in article

    \[ \textsf{\textit{\footnotesize{Fig. 21\qquad Cut threads options}}}\]

    2. For Eurocode, the resistance of the anchor with cut threads is reduced according to EN 1993-1-8 3.6.1 (3). It can be set in Project settings. For Threaded rods and Washer plates, it is recommended to keep this setting on at all times.

    Axial and rotational interconnection between Anchor and Base plate

    As already mentioned in this chapter, depending on the type of anchor, the stand-off setting, and whether or not cut threads are considered, anchors are connected to the base plate in different ways. In terms of rotational connection, this can be Hinged / Fixed. In terms of axial connection, this can be Tension / Tension + Compression. The rotational connection types strongly influence the shear capacity from the point of view of concrete bearing. In a 3D scene, it is easy to tell whether an anchor is connected as fixed or hinged based on the presence of nuts, see Figure 22.

    inline image in article

    \[ \textsf{\textit{\footnotesize{Fig. 22\qquad Rotational constraints}}}\]

    The following table shows all possible combinations of base plate connections with anchors and the corresponding rotational and axial connections.

    inline image in article

    \[ \textsf{\textit{\footnotesize{Fig. 23\qquad Axial and rotational constraints between an anchor and a base plate}}}\]

    Cast-in plates

    Cast-in plate is a special case of a base plate. It is modeled analogously with the following differences:

    Since the plate is embedded inside a concrete block, no type of stand-off can be specified. The depth of the slab embedding is neglected. The plate, modeled by shell elements, is placed directly on the concrete surface. Therefore, the side surfaces of the slab are not considered to be supported by the concrete.

    It is only possible to use Reinforcement and Headed studs, which, like classic anchors, can be set to be connected to the slab in the axial and shear directions. Practical experience and some national documents indicate the need to design Headed studs only for shear and Reinforcement for axial load. From the perspective of axial and rotational constraints, anchors are always connected as Fixed and Tension + Compression.

    inline image in article

    \[ \textsf{\textit{\footnotesize{Fig. 24\qquad Axial and rotational constraints between an anchor and a base plate}}}\]

    Concrete Meshing in 3D CSFM

    The finite elements are implemented internally, and the analysis model is generated automatically without any need for proficient user interaction. An important part of this process is meshing.

    Concrete

    All concrete members are meshed together. A recommended element size is automatically computed by the application based on the size and shape of the structure and taking into account the diameter of the largest reinforcing bar. Moreover, the recommended element size guarantees that a minimum of four elements are generated in thin parts of the structure, such as slender columns or thin walls, to ensure reliable results in these areas. Designers can always select a user-defined concrete element size by modifying the multiplier of the default mesh size.

    Reinforcement

    The reinforcement is divided into elements with approximately the same length as the concrete element size. Once the reinforcement and concrete meshes are generated, they are interconnected with bond elements, as shown in Fig. 9.

    Refinement

    Concrete mesh is automatically refined around anchors, around shear lugs, and under the stub for loading. The size of the refined mesh is approximately twice smaller than the basic concrete mesh. The radius of the refined area is defined approximately as the element size multiplied by two.

    The solution method and load-control algorithm for 3D CSFM

    A standard full Newton-Raphson (NR) algorithm is used to find the solution to a non-linear FEM problem. 

    Generally, the NR algorithm does not often converge when the full load is applied in a single step. A usual approach, which is also used here, is to apply the load sequentially in multiple increments and use the result from the previous load increment to start the Newton solution of the subsequent one. For this purpose, a load control algorithm was implemented on top of the Newton-Raphson. In the case that the NR iterations do not converge, the current load increment is reduced to half its value, and the NR iterations are retried.

    A second purpose of the load-control algorithm is to find the critical load, which corresponds to certain “stop criteria” – specifically the maximum strain in concrete, the maximum slip in bond elements, the maximum displacement in anchorage elements, and the maximum strain in reinforcing bars. The critical load is found using the bisection method. In the case where the stop criterion is exceeded anywhere in the model, the results of the last load increment are discarded and a new increment of half the size of the previous one is calculated. This process is repeated until the critical load is found with a certain error tolerance.

    For concrete, the stop criterion was set to a 5% strain in compression (i.e., around an order of magnitude larger than the actual failure strain of concrete) and 7% in tension at the integration points of shell elements. In tension, the value was set to allow for the limit strain in reinforcement, which is usually around 5% without accounting for tension stiffening, to be reached first. In compression, the value was chosen from among several alternatives as one that is large enough for the effects of crushing to be visible in the results, but small enough so as not to cause too many problems with numerical stability.

    inline image in article

    \[ \textsf{\textit{\footnotesize{Fig 25\qquad Constitutive law of bond and anchorage elements used for anchorage length verification: a) Bond shear stress}}}\] \[ \textsf{\textit{\footnotesize{slip response of bond element, b) force-displacement response of an anchorage element}}}\]


    For reinforcement, the stop criterion is defined in terms of stresses. Since stresses at the crack are modeled, the criterion in tension corresponds to the reinforcement tensile strength accounting for the safety coefficient. The same value is used for the criterion in compression.

    The stop criterion in bond elements and anchorage springs is α·δumax, where δumax is the maximum slip used in code checks and α = 10.


    Other stop criteria for anchoring:

    • Pull out of headed anchors (maximal contact compression stress at the top face of the head of the anchor). 
    • Maximal shear force that can be transferred by the anchor from the point of view of the bearing of concrete.

    These two criteria are dependent on the selected code. You can find more information about them in the sections explaining the code-dependent parts of structural analysis in the application.

    Presentation of 3D results

    The results are presented independently for concrete and for reinforcement elements. The stress and strain values in concrete are calculated at the integration points of volume elements. However, as it is not practical to present the data in such a manner, the results are presented by default in nodes, like the maximum value of compressive stress from adjacent Gauss integration points in connected elements. It should be noted that this representation might locally underestimate the results at compressed edges of members in a case where the finite-element size is similar to the depth of the compression zone.

    The results for the reinforcement finite elements are either constant for each element (one value – e.g., for steel stresses) or linear (two values – for bond results). For auxiliary elements, such as elements of bearing plates, only deformations are presented.

    Model imported from IDEA StatiCa Connection

    The IDEA StatiCa Detail model does not always have to be modeled from scratch or from a template. There is also an option to import the model, including load effects, from IDEA StatiCa Connection. In Connection, the steel superstructure above the concrete block is analyzed using a nonlinear 3D model, while the concrete block itself is represented in a simplified way by a Winkler foundation. In Detail, on the other hand, the reinforced concrete block is modeled explicitly and checked in detail.

    When transferring the model, only the base plate, anchors, and concrete block are imported into Detail – the steel member itself (and its global stiffness) is not. In the Connection model, this steel member is connected to the base plate by a weld. The stresses in the weld finite elements are integrated and converted into a set of equivalent forces that load the base plate in Detail. In this way, the effect of the missing steel member is represented by weld forces applied directly to the base plate.

    inline image in article

    \[ \textsf{\textit{\footnotesize{Fig. 26\qquad Loads imported from IDEA StatiCa Connection}}}\]

    Due to the different definition of stiffness between Connection and Detail (missing steel member, different material models, and concrete representation), a direct connection between the base plate and anchors in Detail would generally lead to a different redistribution of loads and, therefore, different tensile forces in the anchors. To avoid this, the anchors are imported axially disconnected from the base plate. Instead of transferring axial forces through the physical contact, the anchor tensions obtained from the Connection are applied directly to the anchors in Detail. At the same time, an equal and opposite force is applied to the base plate at each anchor location, so that the global equilibrium of the model is preserved. This pair of forces (one acting on the anchor, the other on the base plate) represents the interaction between the base plate and the anchor without allowing additional redistribution of axial forces in Detail. These two opposite forces are illustrated in Figure 26.

    However, the shear forces are still transferred by the connection between the base plate and the anchors (or shear lug, or friction). This is possible because a constraint is used to connect the base plate and the anchors in shear, allowing us to control the relevant degrees of freedom of this interconnection. In Detail, the user can therefore modify the shear load path – for example, by releasing shear in two of four anchors and keeping only the edge anchors engaged in shear – while the axial forces remain as imported from Connection.

    For cast-in plates, we adopted a different approach. Several European design recommendations require that only the reinforcement bars are considered to resist axial forces, while headed studs are assumed to transfer shear only. Since IDEA StatiCa Connection cannot internally separate axial forces in reinforcement anchors from those in headed studs during the export, the anchors of cast-in plates are imported into Detail fully connected, also in the axial direction. This allows the user to activate a design option in Detail where reinforcement anchors carry only axial tension and headed studs carry only shear. In this workflow, the axial force that was originally assigned to the headed studs has to be redistributed onto the reinforcement anchors within the Detail model. Such redistribution would not be possible if we used the pair-of-opposite-forces approach described above, which is why cast-in plates are handled differently.


    Model verification

    Limit states

    Ultimate limit state

    The different verifications required by specific design codes are assessed based on the direct results provided by the model. ULS verifications are carried out for concrete strength, reinforcement strength, and anchorage (bond shear stresses).

    To ensure a structural element has an efficient design, it is highly recommended to run a preliminary analysis that takes into account the following steps:

    • Choose a selection of the most critical load combinations.
    • Calculate only Ultimate Limit State (ULS) load combinations.
    • To expedite the calculation time and address any issues, consider using a coarse mesh by increasing the multiplier of the default mesh size in the Setup (Fig. 27). If the model performs well, revert the multiplier back to a factor of 1.
    inline image in article

    \[ \textsf{\textit{\footnotesize{Fig 27\qquad Mesh multiplier}}}\]

    Such a model will calculate very quickly, allowing designers to review the detailing of the structural element efficiently and re-run the analysis until all verification requirements are fulfilled for the most critical load combinations. Once all the verification requirements of this preliminary analysis are fulfilled, it is suggested that the complete ultimate load combinations be included and the use of fine mesh size (the mesh size recommended by the program). Users can change mesh size by the multiplier, which can reach values from 0.5 to 5 (Fig. 27).

    The basic results and verifications (stress, strain, and utilization (i.e., the calculated value/limit value from the code)), as well as the direction of principal stresses in the case of concrete elements) are displayed by means of different plots where compression is generally presented in red and tension in blue. Global minimum and maximum values for the entire structure can be highlighted as well as minimum and maximum values for every user-defined part. In a separate tab of the program, advanced results such as tensor values, deformations of the structure, and reinforcement ratios (effective and geometric) used for computing the tension stiffening of reinforcing bars can be shown. Furthermore, loads and reactions for selected combinations or load cases can be presented.


    Structural verifications according to EUROCODE

    Material models in 3D CSFM (EN)

    Concrete - ULS

    The concrete model implemented in 3D CSFM is based on the uniaxial compression constitutive laws prescribed by EN 1992-1-1 for the design of cross-sections, which only depend on compressive strength. The parabola-rectangle diagram specified in EN 1992-1-1 Cl. 3.1.7 (1) (Fig. 28a) is used by default in 3D CSFM, but designers can also choose a more simplified elastic ideal plastic relationship according to EN 1992-1-1 Cl. 3.1.7 (2) (Fig. 28b). The tensile strength is neglected, as it is in classic reinforced concrete design.

    inline image in article

    \[ \textsf{\textit{\footnotesize{Fig 28\qquad The stress-strain diagrams of concrete for ULS: a) parabola-rectangle diagram; b) bilinear diagram}}}\]

    The implementation of 3D CSFM in IDEA StatiCa Detail does not consider an explicit failure criterion in terms of strains for concrete in compression (i.e., after the peak stress is reached, it considers a plastic branch with εcu2cu3) in a value of 5% while EN 1992-1-1 assumes ultimate strain less than 0.35%). This simplification does not allow the deformation capacity of structures failing in compression to be verified. However, their ultimate capacity fcd according to EN 1992-1-1 3.1.3 is properly predicted when the increase in the brittleness of concrete as its strength rises is considered by means of the \(\eta_{fc}\) reduction factor defined in fib Model Code 2010 as follows:

    \[f_{cd}={\alpha_{cc}} \cdot \frac{f_{ck,red}}{γ_c} = {\alpha_{cc}} \cdot \frac{\eta _{fc} \cdot f_{ck}}{γ_c}\]

    \[{\eta _{fc}} = {\left( {\frac{{30}}{{{f_{ck}}}}} \right)^{\frac{1}{3}}} \le 1\]

    where:

    αcc is the coefficient taking account of long-term effects on the compressive strength and of unfavorable effects resulting from the way the load is applied. It is according to EN 1992-1-1 Cl. 3.1.6 (1). The default value is 1.0.

    fck is the concrete cylinder characteristic strength (in MPa for the definition of \( \eta_{fc} \)).

    Reinforcement

    By default, the idealized bilinear stress-strain diagram for the bare reinforcing bars defined in EN 1992-1-1, section 3.2.7 (Fig. 29) is considered. The definition of this diagram only requires the basic properties of the reinforcement to be known during the design phase (strength and ductility class). Whenever known, the actual stress-strain relationship of the reinforcement (hot-rolled, cold-worked, quenched, and self-tempered, …) can be considered. The reinforcement stress-strain diagram can be defined by the user, but in this case, it is impossible to assume the tension stiffening effect (it is impossible to calculate crack width). Using the stress-strain diagram with a horizontal top branch does not allow for the verification of structural durability. Therefore, manual verification of standard ductility requirements is necessary.

    inline image in article

    \[ \textsf{\textit{\footnotesize{Fig. 29 \qquad Stress-strain diagram of reinforcement: a) bilinear diagram with an inclined top branch; b) bilinear diagram}}}\] \[ \textsf{\textit{\footnotesize{with a horizontal top branch.}}}\]

    Tension stiffening (Fig. 30) is accounted for automatically by modifying the input stress-strain relationship of the bare reinforcing bar in order to capture the average stiffness of the bars embedded in the concrete (εm).

    inline image in article

    \[ \textsf{\textit{\footnotesize{Fig. 30\qquad Scheme of tension stiffening.}}}\]

    Partial safety factors

    The Compatible Stress Field Method is compliant with modern design codes. As the calculation models only use standard material properties, the partial safety factor format prescribed in the design codes can be applied without any adaptation. In this way, the input loads are factored, and the characteristic material properties are reduced using the respective safety coefficients prescribed in design codes, exactly as in conventional concrete analysis. Values of material safety factors prescribed in EN 1992-1-1 chap. 2.4.2.4 and factors for anchors prescribed in EN 1992-4, EN 1993-1-8, and EN 1994-1-1 are set by default, but the user can change safety factors in the Code and calculation settings (Fig. 31).

    inline image in article

    \[ \textsf{\textit{\footnotesize{Fig. 31\qquad The setting of  material safety factors in Idea StatiCa Detail.}}}\]

    Load safety factors have to be defined by the user in Combination rules for each non-linear combination of load cases (Fig. 32). For all templates implemented in Idea StatiCa Detail, partial safety factors are already predefined.

    inline image in article

    \[ \textsf{\textit{\footnotesize{Fig. 32\qquad The setting of  load partial factors in Idea StatiCa Detail.}}}\]

    By using appropriate user-defined combinations of partial safety factors, users can also compute with 3D CSFM using the global resistance factor method (Navrátil, et al. 2017), but this approach is hardly ever used in design practice. Some guidelines recommend using the global resistance factor method for non-linear analysis. However, in simplified non-linear analyses (such as 3D CSFM), which only require those material properties that are used in conventional hand calculations, it is still more desirable to use the partial safety format.

    Ultimate limit state checks

    The different verifications required by EN 1992-1-1 are assessed based on the direct results provided by the model. ULS verifications are carried out for concrete strength, reinforcement strength, and anchorage (bond shear stresses).

    Strength - Concrete

    The concrete strength in compression is evaluated as the ratio between the maximum Equivalent principal stress σc,eq obtained from FE analysis and the limit value σc,lim = fcd.

    Equivalent Principal Stress expresses the equivalent uni-axial stress for a general tri-axial stress state.

    \[\sigma_{c,eq} = \sigma_{c3} - \sigma_{c1}\]

    The σc,eq value can, therefore, be directly compared with uniaxial strength limits according to 1992-1-1 Cl. 3.1.7 (1).

    This expression is derived from the implementation of the Mohr-Coulomb plasticity theory, conservatively assuming the angle of internal friction φ = 0°.

    Strength - Reinforcement

    The strength of the reinforcement is evaluated in both tension and compression as the ratio between the stress in the reinforcement at the cracks σsr and the specified limit value σs,lim:

    \(σ_{s,lim} = \dfrac{k \cdot f_{yk}}{γ_s}\qquad\qquad\textsf{\small{for bilinear diagram with inclined top branch}}\)

    \(σ_{s,lim} = \dfrac{f_{yk}}{γ_s}\qquad\qquad\,\,\,\,\textsf{\small{for bilinear diagram with horizontal top branch}}\)

    where:

    fyk        is the yield strength of the reinforcement according to EN 1992-1-1 Cl. 3.2.3,

    k          is the ratio of tensile strength ftk to the yield stress,
                \(k = \dfrac{f_{tk}}{f_{yk}}\)

    γs             is the partial safety factor for reinforcement.

    Strength - Anchors

    Anchors are checked for normal stresses in a similar way to reinforcement, where the limit value σs,lim is determined.

    In addition, the NEd and VEd values are specified for anchors, which are checked against NRd,s and VRd,s according to the selected code. The code is chosen depending on the type of anchor used in Project settings.

    inline image in article

    \[ \textsf{\textit{\footnotesize{Fig. 33\qquad EN 1992-1-1 Figure 8.2 - Anchor check - Design code selection}}}\]


    Since different approaches are chosen for checking anchors in different standards, the user can choose the following standards for individual anchor types:

    • Anchors made of bolt material in tension and/or shear - EN 1992-4, EN 1993-1-8
    • Headed studs in tension and/or shear - EN 1992-4, EN 1994-1-1
    • Anchors made in tension and/or shear - EN 1992-4, EN 1992-1-1
    • Anchors in compression and/or bending - EN 1993-1-1


    Tension check according to EN 1992-4 - 7.2.1.3

    \[N_{Rd,s} = \frac{c \cdot A_s \cdot f_{uk}}{\gamma_{Ms}}\]

    where:

    • c – reduction for cut threads  
    • fuk – minimum tensile strength of the bolt
    • As – anchor bolt tensile stress area (reduced by the thread in the case of bolt material)
    • \(\gamma_{Ms} = 1.2 \cdot \dfrac{f_{uk}}{f_{yk}} \ge 1.4\) – partial safety factor for stee 
    • fyk – minimum yield strength of the bolt


    Tension check according to EN 1993-1-8 - 3.6.1

    \[N_{Rd,s} = F_{t.Rd} = \frac{c \cdot k_2 \cdot f_{ub} \cdot A_s}{\gamma_{M2}}\] 

    where:

    • c – decrease in tensile resistance of bolts with cut thread according to EN 1993-1-8 – Cl. 3.6.1. (3) 
    • k2 = 0.9 – factor for non-countersunk anchors 
    • fub – anchor bolt ultimate tensile strength 
    • As – anchor bolt tensile stress area (reduced by the thread in the case of bolt material)
    • γM2 =1.25 – partial safety factor for bolts (EN 1993-1-8, Table 2.1) 


    Tension check according to EN 1992-1-1 - 3.2.7

    \[N_{Rd,s} = \frac{kf_{yk}}{\gamma_{S}}\]

    where:

    • \(k=(f_{t}/f_{y})\) is given in Annex C
    • fyk - characteristic yield strength
    • γM2 =1.15 – partial safety factor for reinforcement


    Compression check according to EN 1993-1-1 - 6.3

    Used for all anchors subjected to a normal compression force, regardless of their material or stand-off type. 

    \[F_{c,Rd}=\frac{\chi\,A_s f_y}{\gamma_{M2}}\]

    Where:

    • \(\chi=\dfrac{1}{\Phi+\sqrt{\Phi^2-\bar{\lambda}^2}}\le 1\) – buckling reduction factor
    • \(\Phi=0.5\left[1+\alpha\left(\bar{\lambda}-0.2\right)+\bar{\lambda}^2\right]\) – value to determine buckling reduction factor χ
    • \(\alpha=0.49\) – imperfection factor for buckling curve c (belonging to the full circle)
    • \(\bar{\lambda}=\sqrt{\dfrac{A_s f_y}{N_{cr}}}\) – relative slenderness
      • As – the anchor area reduced by threads
    • \(N_{cr}=\dfrac{\pi^2 E I}{L_{cr}^2}\)  – Euler's critical force
    • \(I=\dfrac{\pi d_s^4}{64}\) – moment of inertia of the bolt
      • ds – anchor diameter reduced by threads
    • \(L_{cr}=2\,l\)  – buckling length; it is assumed on the safe side that the bolt is fixed in the concrete and able to rotate at the base plate freely 
    • \(l=l_{a}\) – length of the bolt element equal to half the base plate thickness + gap + half the bolt diameter; it is assumed on the safe side that the washer and a nut are not clamped to the concrete surface (ETAG 001 – Annex C – Cl. 4.2.2.4), see Figure 34.


    Shear check according to EN 1992-4 - 7.2.2.3

    For stand-off = direct, the shear without lever arm is assumed (EN 1992-4 – Cl. 7.2.2.3.1):

    \[V_{Rd,s} = \frac{k_6 \cdot A_s \cdot f_{uk}}{\gamma_{Ms}}\]

    For stand-off = mortar joint, the shear with lever arm is assumed (EN 1992-4 – Cl. 7.2.2.3.2):

    \[V_{Rd,s} = \frac{\alpha_M \cdot M_{Rk,s}}{\gamma_{Ms} \cdot l_a}\]

    where:

    • k6 = 0.6 for anchors with fuk ≤ 500 MPa; k6 = 0.5 otherwise
    • As – shear area of anchor reduced by threads
    • fuk – anchor bolt ultimate strength
    • αM = 2 – full restraint is assumed (EN 1992-4 – Cl. 6.2.2.3)
    • \(M_{Rk,s} = M^{0}_{Rk,s} \left(1 - \dfrac{N_{Ed}}{N_{Rd,s}} \right)\) – characteristic bending resistance of the anchor decreased by the tensile force in the anchor
    •  \(M^{0}_{Rk,s} = 1.2 \cdot W_{el} \cdot f_{ub}\) – characteristic bending resistance of the anchor (ETAG 001, Annex C – Equation (5.5b))
    • \(W_{el} = \dfrac{\pi d^{3}}{32}\) – section modulus of the anchor
    • d – anchor bolt diameter; if the shear plane in a thread is selected (which always is for threaded rod), the diameter reduced by threads is used; otherwise, nominal diameter, dnom, is used
    • NEd – tensile force in the anchor
    • NRd,s – tensile resistance of the anchor
    • \(l_{a} = 0.5\, d_{\mathrm{nom}} + t_{\mathrm{mortar}} + 0.5\, t_{\mathrm{bp}}\) – lever arm
    • tmortar – thickness of mortar (grout)
    • tbp – thickness of the base plate
    • \(\gamma_{Ms} = 1.0 \cdot \dfrac{f_{uk}}{f_{yk}} \ge 1.25\) for \(f_{uk} \le 800 \text{ MPa}\) and  \(\dfrac{f_{yk}}{f_{uk}} \le 0.8\); γMs = 1.5 otherwise – partial safety factor for steel failure (EN 1992-4 – Table 4.1)


    Shear check according to EN 1993-1-8 - 6.2.2

    Anchor shear steel resistance is determined according to EN 1993-1-8 – 6.2.2 (7) regardless of direct or mortar joint stand-off. The grout strength and thickness should be according to Cl. 6.2.5 (7).

    \[V_{Rd,s} = F_{v,b,Rd} = \min \left\{ F_{1v,b,Rd} ,\, F_{2v,b,Rd} \right\}\]

    where:

    \[F_{1v,b,Rd} = \frac{\alpha_v \cdot f_{ub} \cdot A}{\gamma_{M2}}\]

    • αv = 0.6 for grades 4.6, 5.6, 8.8, and 0.5 for grades 4.8, 5.8, 6.8, 10.9
    • fub – ultimate tensile strength of the bolt material
    • A – tensile stress area of the bolt, A = As, where As is the tensile stress area of the bolt (reduced by the thread)
    • γM2 – safety factor - EN 1993-1-8 – Table 2.1

    \[F_{2v,b,Rd} = \frac{\alpha_b \cdot f_{ub} \cdot A_s}{\gamma_{M2}}\]

    • ​ \(\alpha_b = 0.44 - 0.0003\, f_{yb}\)
    • αb is a coefficient depending on the yield strength of the anchor bolt
    • fyb – anchor yield strength; 235 MPa ≤ fyb ​≤ 640 MPa
    • fub – anchor tensile strength 
    • As – tensile stress area (reduced by the thread)


    Shear check according to EN 1993-1-1 - 6.2.6

    These code checks are applied to anchors that are connected to the base plate with a gap or a directly loaded anchor with a projected length more than 0.5 times their diameter.

    \[V_{pl,Rd}=\frac{A_v f_y/\sqrt{3}}{\gamma_{M2}}\]

    where:

    • AV = 0.844 As – shear area
    • As – bolt area reduced by threads
    • fy – bolt yield strength
    • γM2 – partial safety factor (defined in the Project settings)


    Shear check according to EN 1994-1-1 - 6.6.3.1

    \[V_{Rd,s} = P_{Rd} = \frac{0.8 \, f_u \, \pi \, d^2}{4 \, \gamma_v}\]

    where:

    • γv is the partial factor for shear connection per EN 1994-1-1 chap. 2.4.1.2. The recommended value for γv is 1.25
    • d is the diameter of the shank of the stud, 16 mm ≤ d ≤ 25 mm;
    • fu is the specified ultimate tensile strength of the material of the stud, but not greater than 500 MPa.

    In EN 1994-1-1, clause 6.6.3.1 also provides Equation (6.19), which limits the shear resistance of a stud by the punching (bearing) capacity of the concrete. In IDEA StatiCa Detail, this failure mode is not checked by a separate code formula in the post-processing. Instead, it is built directly into the nonlinear finite element analysis as a stop criterion: the analysis is terminated before the shear force in an anchor reaches the corresponding PRd
    from Equation (6.19). This approach is used because Equation (6.19) is valid only for headed studs welded to the steel plate and for stud diameters in the range 16 mm ≤ d ≤ 25 mm, as specified in 6.6.3.1.

    To cover a wider range of practical cases, we created a series of 3D reference models in Abaqus with anchor diameters from 8 mm to 50 mm and concrete strengths from C16/20 to C50/60. The studs were modeled either welded rigidly to the base plate or connected by a pinned (hinged) joint. The material models and contact parameters in Detail were then calibrated against these Abaqus simulations, which were themselves verified against Equation (6.19) within its validity range. This stop criterion is valid for all anchor types and all EN codes.


    Bending check according to EN 1993-1-1 - 6.2.5

    \[M_{pl,Rd}=\frac{W_{pl} f_y}{\gamma_{M2}}\]

    Where:

    • \(W_{pl}=\dfrac{d_s^{3}}{6}\) – section modulus of the bolt
      • ds – anchor diameter reduced by threads
    • fy – material yield strength
    • γM2 – partial safety factor (defined in the Project settings)


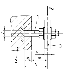
    Acting design bending moment MEd - If the shear load acts with a lever arm, a bending moment acting on the fastener shall be accounted for. The design bending moment acting on the fastener is calculated according to EN 1993-1-1 Formula (6.1):

    \[M_{Ed}=V_{Ed}\cdot\frac{l_a}{\alpha_M}\]

    where:

    • VEd - is the shear load acting on the fastener under consideration
    • la = a3 + e1
      • a3 = 0.5dnom, where dnom is the anchor diameter
      • e1 - is the distance between the shear load and the concrete surface, neglecting the thickness of any levelling grout
    • αM = 2 – full restraint is assumed (EN 1992-4 – Cl. 6.2.2.3)
    inline image in article

    \[ \textsf{\textit{\footnotesize{Fig. 34\qquad Buckling length}}}\]


    Interaction of tension and shear in anchor steel

    The interaction of tension and shear per EN 1993-1-8 is implicitly included in the anchor shear check.

    The interaction of tension and shear per EN 1992-4 is determined separately for steel and concrete failure modes according to Table 7.3. The interaction in steel is checked for each anchor separately.

    \[\left( \frac{N_{Ed}}{N_{Rd,s}} \right)^{2}+\left( \frac{V_{Ed}}{V_{Rd,s}} \right)^{2}\le 1\]

    EN 1994-1-1 states in Article 6.6.3.2 that if the anchor tensile force is greater than 0.1PRd, the check is not covered by this standard. In such a case, the interaction is assessed in accordance with EN 1992-4 in the application. In such a case, the shear check should not be considered according to EN 1994-1-1.


    Interaction of tension or compression and bending in anchor steel EN 1993-1-1 - 6.2.1

    \[\frac{N_{Ed}}{N_{Rd}}+\frac{M_{Ed}}{M_{Rd}}\le 1\]

    where:

    • NEd – tensile (positive) or compressive (negative sign) design force
    • NRd – tensile (positive, Ft,Rd) or compressive (negative sign, Fc,Rd) design resistance
    • MEd – design bending moment
    • MRd = Mpl,Rd – design bending resistance


    Pull-out check for headed anchors (Washer plates and Headed studs)

    For headed anchors, an additional stop criterion is implemented to check the concrete bearing (crushing) above the anchor head - pull-out. During the analysis, the compressive force transferred through the head-to-concrete contact is monitored and compared with the limit value given by EN 1992-4, Clause 7.2.1.5 (pull-out failure of headed fastenings).

    \[N_{Rd,p} = k_2 \cdot A_h \cdot f_{ck} / \gamma_{Mp}\]

    where:

    • Ah is the load bearing area of the head of the fastener (without the shank area). 
    • fck is the characteristic compressive strength of concrete - EN 1992-1-1 Cl. 3.1.2
    • γMp is taken in the application as γMp = γc with the default value of 1.5
    •  k2​ is always taken as 7.5, i.e. the value for cracked concrete. This is consistent with the CSFM approach used in Detail, where the tensile strength of concrete is neglected and the concrete is assumed to be cracked in tension. 

    Once the contact force reaches this code-based limit, the stop criterion is triggered and the analysis is terminated before the design pull-out resistance is exceeded.


    Anchorage -  Bond stress

    The bond shear stress is evaluated independently as the ratio between the bond stress τb calculated by FE analysis and the ultimate bond strength fbd, according to EN 1992-1-1 chap. 8.4.2:

    \[\frac{τ_{b}}{f_{bd}}\le 1\]

    \[f_{bd} = 2.25 \cdot η_1\cdot η_2\cdot f_{ctd}\]

    where:

    • fctd      is the design value of concrete tensile strength according to EN 1992-1-1 Cl. 3.1.6 (2). Due to the increasing brittleness of higher-strength concrete, fctk,0.05 is limited to the value for C60/75 according to EN 1992-1-1 Cl. 8.4.2 (2)
    • η1       is a coefficient related to the quality of the bond condition and the position of the bar during concreting (Fig. 34).
    • η1 = 1.0 when ‘good’ conditions are obtained and
    • η1 = 0.7 for all other cases and for bars in structural elements built with slip-forms, unless it can be shown that ‘good’ bond conditions exist
    • η2        is related to the bar diameter:
      η2 = 1.0 for Ø ≤ 32 mm
      η2 = (132 - Ø)/100 for Ø > 32 mm
    inline image in article

    \[ \textsf{\textit{\footnotesize{Fig. 35\qquad EN 1992-1-1 Figure 8.2 - Description of bond conditions.}}}\]

    In IDEA StatiCa Detail, the bond conditions are taken into account according to Fig. 34 c) and d). The direction of concreting can be set in the application for each project item as follows:

    inline image in article

    \[ \textsf{\textit{\footnotesize{Fig. 36\qquad Direction of concreting}}}\]

    These verifications are carried out with respect to the appropriate limit values for the respective parts of the structure (i.e., in spite of having a single grade both for concrete and reinforcement material, the final stress-strain diagrams will differ in each part of the structure due to tension stiffening and compression softening effects).

    Anchorage - Total force

    Total force Ftot and Limit force Flim

    The total force Ftot is a result of the finite element analysis and can be defined in two ways.

    \[F_{tot}=A_{s}\cdot \sigma_{s}\]

    where As is the area of the reinforcement bar and σs is the stress in the bar.

    Or as a sum of the anchorage force Fa and the bond force Fbond.

    \[F_{tot}=F_{a}+F_{bond}\]

    where Fa is the actual force in the anchorage spring and Fbond is the bond force that can be obtained by integrating the bond stress τb along the length of reinforcement bar l.

    \[F_{bond}=C_{s} \cdot \int_{0}^{l}\tau_{b}\left( x \right)dx\]

    Cs is the circumference of the reinforcement bar.

    The limit force Flim is the maximum force in the element of the rebar considering the ultimate strength of the rebar and also anchoring conditions (bond between concrete and reinforcement and anchorage hooks, loops, etc.).

    \[F_{lim}=min\left( F_{lim,bond}+F_{au},F_{u} \right)\]

    \[F_{u}=k\cdot f_{yd}\cdot A_{s}\]

    \[F_{au}=\beta\cdot k\cdot f_{yd}\cdot A_{s}\]

    \[F_{lim,bond}=C_{s}\cdot l \cdot f_{bd}\]

    where Cs is the circumference of the reinforcement bar, and l is the length from the beginning of the rebar to the point of interest.

    inline image in article

    \[ \textsf{\textit{\footnotesize{Fig. 37\qquad Definition of the limit force Flim}}}\]


    \[F_{lim,2}=F_{lim,1}+F_{lim,add}\]

    where Flim,add is the additional force calculated from the magnitude of the angle between neighboring elements. Flim,2 must always be lower than Fu.

    Anchorage types at the end of Reinforcement (Anchors and Rebars)

    The available anchorage types in 3D CSFM include a straight bar (i.e., no anchor end reduction), bend, hook, loop, welded transverse bar, perfect bond, and continuous bar. All these types, along with the respective anchorage coefficients β, are shown in Fig. 36 for longitudinal reinforcement and in Fig. 37 for stirrups. The values of the adopted anchorage coefficients are in accordance with EN 1992-1-1 section 8.4.4 Tab. 8.2. It should be noted that in spite of the different available options, 3D CSFM distinguishes three types of anchorage ends: (i) no reduction in the anchorage length, (ii) a reduction of 30% of the anchorage length in the case of a normalized anchorage, and (iii) perfect bond.

    inline image in article

    \[ \textsf{\textit{\footnotesize{Fig. 38\qquad  Available anchorage types and respective anchorage coefficients for longitudinal reinforcing bars in the 3D CSFM:}}}\]

    \[ \textsf{\textit{\footnotesize{(a) straight bar; (b) bend; (c) hook; (d) loop; (e) welded transverse bar; (f) perfect bond; (g) continuous bar.}}}\]


    inline image in article

    \[ \textsf{\textit{\footnotesize{Fig. 39\qquad  Available anchorage types and respective anchorage coefficients for stirrups.}}}\]

    \[ \textsf{\textit{\footnotesize{Closed stirrups: (a) hook; (b) bend; (c) overlap. Open stirrups: (d) hook; (e) continuous bar.}}}\]

    In order to comply with EN 1992-1-1, the anchorage spring should be used in the calculation, the anchorage spring is modified by the β coefficient, so the user must use one of the available anchorage types when defining the reinforcement start and end conditions. 



    Structural verifications according to ACI 318-19

    3D CSFM is in accordance with ACI 318-19, chapter 6.8.1.1. In order for the 3D CSFM to meet the requirements from ACI 318-19 Section 6.8.1.2, a lot of verification testing was done at various universities. Individual articles summarizing the results of verification and validation can be found at the following link.

    Material models in 3D CSFM (ACI)

    Concrete - Strength

    The concrete model implemented for strength calculations in the CSFM is based on the parabolic-plastic stress-strain curve for concrete based on the Portland CementAssociation’s parabolic stress-strain curve described in PCA’s Notes on ACI 318-99 Building Code Requirements for Structural Concrete, Figure 6-8. The tensile strength is neglected, as it is in classic reinforced concrete design.

    inline image in article

    \[ \textsf{\textit{\footnotesize{Fig. 40\qquad The stress-strain diagram of concrete for Strength analysis}}}\]

    The implementation of the CSFM in IDEA StatiCa Detail does not consider an explicit failure criterion in terms of strains for concrete in compression (i.e., after the peak stress is reached it considers a plastic branch with εc0 in maximum value 5% while ACI 318-19 Cl. 22.2.2.1 assumes ultimate strain less than 0.3%). This simplification does not allow the deformation capacity of structures failing in compression to be verified. However, the strength is properly predicted when the increase in the brittleness of concrete as its strength rises is considered by means of the \(\eta_{fc}\) reduction factor defined in fib Model Code 2010 as follows:

    \[f'_{c,lim}=\alpha_{1}\cdot\phi_{c}\cdot \eta _{fc}\cdot f'_{c}\]

    \[{\eta _{fc}} = {\left( {\frac{{30}}{{{f'_{c}}}}} \right)^{\frac{1}{3}}} \le 1\]

    where:

    α1 is the Reduction factor of concrete compressive strength defined in ACI 318-19 Cl. 22.2.2.4.1. When using a parabola-rectangle stress-strain diagram, it is necessary to reduce the maximum compressive stress by this factor. This averages the stress distribution in the compression zone in such a way that the resulting compressive strength is less than or equal to the compressive strength calculated using a stress-strain diagram with a decreasing plastic branch.

    Φc is the strength reduction factor for concrete. The default value is set according to ACI 318-19 Table 24.2.1 (b)(f).

    f'c is the concrete cylinder strength (in MPa for the definition of \( \eta_{fc} \)).

    Reinforcement

    A perfectly elasto-plastic stress-strain diagram with a defined yield point for the non-prestresses reinforcement is considered. See ACI 319-19 Cl. 20.2.1. The definition of this diagram only requires the basic properties of the reinforcement to be known - strength and modulus of elasticity.

    The reinforcement stress-strain diagram can be also defined by the user, but in this case, it is impossible to assume the tension stiffening effect. 

    inline image in article

    \[ \textsf{\textit{\footnotesize{Fig. 41 \qquad Stress-strain diagram of reinforcement}}}\]

    where:

    Φs is the strength reduction factor for reinforcement. Where the default value is set according to ACI 318-19 Table 24.2.1.

    fy is the yield strength of reinforcement

    Es modulus of elasticity of reinforcement

    10% is selected as the limit strain at which the calculation is stopped. This is considered safe based on ASTM A955/A955M-20c Article 7.

    Tension stiffening (Fig. 42)  is accounted for automatically by modifying the input stress-strain relationship of the bare reinforcing bar in order to capture the average stiffness of the bars embedded in the concrete (εm).

    inline image in article

    \[ \textsf{\textit{\footnotesize{Fig. 42\qquad Scheme of tension stiffening.}}}\]

    Strength reduction factors and load factors

    The Compatible Stress Field Method is compliant with modern design codes. As the calculation models only use standard material properties, the partial safety factor format prescribed in the design codes can be applied without any adaptation. In this way, the input loads are factored, and the characteristic material properties are reduced using the respective strength reduction factors, exactly as in conventional concrete analysis.

    Values of strength reduction factors are prescribed in ACI 318-19 chapter 21 and for anchors in ACI 318-19 chapter 17 and AISC 360-16 chapter D, E, F, G. 

    inline image in article

    \[ \textsf{\textit{\footnotesize{Fig. 43\qquad The setting of strength reduction factors in IDEA StatiCa Detail.}}}\]


    Load factors for Strength combinations shall be defined according to ACI 318-19 Table 5.3.1.

    Except as stated in Chapter 34, service-level load combinations are not defined in ACI 318-19. It is recommended to use combination rules based on Appendix C of ASCE/SEI 7-16. For all templates, load factors are already predefined.

    inline image in article

    \[ \textsf{\textit{\footnotesize{Fig. 44\qquad The setting of load factors in IDEA StatiCa Detail.}}}\]

    Strength verifications in Detail 3D

    The different verifications required by ACI 318-19 are assessed based on the direct results provided by the model. Verifications are carried out for concrete strength, reinforcement strength, and anchorage (bond shear stresses).

    Strength - Concrete

    The concrete strength in compression is evaluated as the ratio between the maximum Equivalent principal stress fc,eq (also σc,eq in previous text) obtained from FE analysis and the limit value f'c,lim.

    Equivalent Principal Stress expresses the equivalent uni-axial stress for a general tri-axial stress state.

    \[f_{c,eq} = \sigma_{c3} - \sigma_{c1}\]

    The fc,eq value can, therefore, be directly compared with uniaxial strength limits. This expression is derived from the implementation of the Mohr-Coulomb plasticity theory, conservatively assuming the angle of internal friction φ = 0°.

    Strength - Reinforcement

    The strength of the reinforcement is evaluated in both tension and compression as the ratio between the stress in the reinforcement at the cracks fs and the specified limit value fy,lim.

    \[f_{y,lim} = \phi_{s} \cdot f_{y}\]

    Strength - Anchors

    Anchors are checked for normal stresses in a similar way to reinforcement, where the limit value fy,lim is determined. 


    To make it easier to navigate the following text, we will first divide anchoring into three groups in terms of code-checking according to ACI or AISC.


    Group 1

    • Anchorage Types
      • Cast-in plate
      • Base plate - Stand-off = direct 
      • Base plate - Stand-off = Mortar joint - thickness of mortar less than 0.5 times the anchor diameter
      • Single anchor with projected length less than 0.5 times anchor diameter
    • Anchor code-checks (ACI / AISC)
      • Tension/compression
        • All anchor types in tension – ACI 318-19 chap. 17.6.1.2  
        • All anchor types in compression – AISC 360-16 chap. E
      • Shear without lever arm
        • Bolt material – ACI 318-19 chap. 17.7.1.2 (b)
        • Headed studs – ACI 318-19 chap. 17.7.1.2 (a)
        • Reinforcement – ACI 318-19 chap. 17.7.1.2 (b)
      • Interaction of tension and shear - ACI 318-19 chap. 17.8


    Group 2

    • Anchorage Types
      • Base plate - Stand-off = Mortar joint - thickness of mortar more than 0.5 times the anchor diameter
    • Anchor code-checks (ACI / AISC)
      • Tension/compression
        • All anchor types in tension – ACI 318-19 chap. 17.6.1.2  
        • All anchor types in compression – AISC 360-16 chap. E
      • Shear with lever arm
        • Bolt material – ACI 318-19 chap. 17.7.1.2 (b) + chap. 17.7.1.2.1.
        • Headed studs – ACI 318-19 chap. 17.7.1.2 (a) + chap. 17.7.1.2.1.
        • Reinforcement – ACI 318-19 chap. 17.7.1.2 (b) + chap. 17.7.1.2.1.
      • Interaction of tension and shear - ACI 318-19 chap. 17.8


    Group 3

    • Anchorage types
      • Base plate - Stand-off = gap
      • Single anchor with projected length more than 0.5 times the anchor diameter
    • Anchor code-checks (ACI / AISC)
      • Tension/compression (with buckling)
        • All anchor types in tension – ACI 318-19 chap. 17.6.1.2
        • All anchor types in compression – AISC 360-16 chap. E3
      • Bending
        • For all anchor types – AISC 360-16 chap. F11
      • Shear
        • For all anchor types – AISC 360-16 chap. G
      • Interaction of axial force and bending
        • \(\dfrac{N}{P_n}+\dfrac{M}{M_n}\le 1\) 


    Tensile resistance of anchor according to ACI 318-19 chap. 17.6.1.2

    \[\phi N_{sa}=\phi_{a,t}\,A_{se,N}\,f_{uta}\]

    where:

    • ϕa,t  – strength reduction factor for anchors in tension according to ACI 318-19 chap. 17.5.3 (a)
    • Ase,N – tensile stress area (reduced by thread)
    • futa – specified tensile strength of anchor steel and shall not be greater than 1.9 fya and 860 MPa


    Shear resistance of anchor according to ACI 318-19 chap. 17.7.1.2 (a)

    The steel strength in shear for headed studs is determined as:

    \[\phi V_{sa}=\phi_{a,V}\,A_{se,V}\,f_{uta}\]

    where:
    ϕa,v – strength reduction factor for anchors in tension according to ACI 318-19 chap. 17.5.3 (a)
    Ase,V – tensile stress area (reduced by thread)
    futa – specified tensile strength of anchor steel and shall not be greater than 1.9 fya and 860 MPa


    Shear resistance of anchor according to ACI 318-19 chap. 17.7.1.2 (b)

    The steel strength in shear for anchors from bolt material and reinforcement is determined as:

    \[\phi V_{sa}=\phi_{a,V}\,0.6\,A_{se,V}\,f_{uta}\]

    where:

    • ϕa,v  – strength reduction factor for anchors in tension according to ACI 318-19 chap. 17.5.3 (a)
    • Ase,V – tensile stress area (reduced by thread)
    • futa – specified tensile strength of anchor steel and shall not be greater than 1.9 fya and 860 MPa


    Shear resistance of anchor connected to a base with mortar - ACI 318-19 chap. 17.7.1.2.1

    If anchors are used with built-up grout pads (Group 2), the design strength calculated in accordance with 17.7.1.2 shall be multiplied by 0.80.


    Interaction in tension and shear according to ACI 318-19 chap. 17.8

    It shall be permitted to neglect the interaction between tension and shear if (a) or (b) is satisfied.
    (a) Nua/(ϕNn) ≤ 0.2
    (b) Vua/(ϕVn) ≤ 0.2 

    If Nua/(ϕNn) > 0.2 for the governing strength in tension and Vua/(ϕVn) > 0.2 for the governing strength in shear, then Eq. (17.8.3) shall be satisfied.

    \[\frac{N_{ua}}{\phi N_n}+\frac{V_{ua}}{\phi V_n}\le 1.2\]


    Compressive resistance of anchor according to AISC 360-16 chap. E3

    \[P_n =\phi_{a,c}\, F_{cr}\, A_{g}\]

    where:

    • ϕa,t  – the strength reduction factor for anchors in compression according to AISC 360-16 chap. E1
    • (a) When: \(\dfrac{L_c}{r} \le 4.71\sqrt{\dfrac{E}{F_y}}\quad\)  or     \(\dfrac{F_y}{F_e}\le 2.25\)
      • \(F_{cr}=\left(0.658^{\,F_y/F_e}\right)F_y\)
    • (b) When: \(\dfrac{L_c}{r} > 4.71\sqrt{\dfrac{E}{F_y}}\quad\)  or     \(\dfrac{F_y}{F_e}> 2.25\)
      • \(F_{cr}=0.877F_e\)
    • Ag​ – gross cross-sectional area of member
    • E – modulus of elasticity of steel
    • \(F_e=\dfrac{\pi^2 E}{\left(\dfrac{L_c}{r}\right)^2}\) - elastic buckling stress
    • Fy – specified minimum yield stress of the type of steel being used
    • \(r=\sqrt{\dfrac{I}{A_s}}\) – radius of gyration
    • \(I=\dfrac{\pi d_s^4}{64}\) – moment of inertia of the bolt 


    Bending resistance of anchor according to AISC 360-16 chap. F11

    \[M_n=\phi_{a,b}\, Z\, F_y\, \le 1.6\,\phi_{a,b}\, S_x\, F_y\]

    where:

    • \(Z=\dfrac{d_s^{3}}{6}\) – plastic section modulus of the bolt
    • \(S_x=\dfrac{2I}{d_s}\) – elastic section modulus of the bolt


    Shear resistance of anchor according to AISC 360-16 chap. G

    \[V_n=\phi_{a,v}\,0.6\,A_v\,F_y\]

    where:

    • AV = 0.844As – the shear area
    • As – the bolt area reduced by threads


    Concrete crushing at the anchor–concrete interface

    The anchor shear resistance is also limited from the point of view of concrete crushing at the anchor–concrete interface. The limit values and the method for determining them are described in detail in the article - Shear behaviour of anchors in reinforced concrete. Once the contact force reaches this limit, the stop criterion is triggered, and the analysis is terminated before the resistance is exceeded.​ 


    Pull-out check for headed anchors (Washer plates and Headed studs)

    For headed anchors, an additional stop criterion is implemented to check the concrete bearing (crushing) above the anchor head - pull-out. During the analysis, the compressive force transferred through the head-to-concrete contact is monitored and compared with the limit value given by ACI 318-19, Clause 17.6.3.2.2a (pull-out failure of headed fastenings).

    \[N_{pn} = \Phi \cdot \Psi_{c,p} \cdot 8 \cdot A_{brg} \cdot f'_c\]

    where:

    • \( \Phi\) is the strength reduction factor - Table 17.5.3(c)
    • Abrg net bearing area of the head of stud, anchor bolt, or headed deformed bar (without the shank area). 
    • f'c is the specified compressive strength of concrete
    • \(\Psi_{c,p}\) is the pullout cracking factor according to 17.6.3.3, and is always taken as 1.0, i.e. the value for cracked concrete. This is consistent with the CSFM approach used in Detail, where the tensile strength of concrete is neglected and the concrete is assumed to be cracked in tension.

    Once the contact force reaches this code-based limit, the stop criterion is triggered, and the analysis is terminated before the pull-out resistance is exceeded.​ 

    Anchorage -  Bond stress

    The bond shear stress is evaluated independently as the ratio between the bond stress τb calculated by FE analysis and the bond strength fbu.

    Although the bond strength is not explicitly defined in ACI 318-19, the calculation of the development length can be found in Section 25.4.2. However, since the bond strength is the basic input for determining the development length, see R25.4.1.1 and ACI Committee 408 1966, the bond strength can be calculated as follows:

    Let us assume that if we anchor the reinforcement bar into a concrete block to the development length ld or greater, pulling out the reinforcement will lead to rupture of the reinforcement and not to pulling out of the concrete. This can be written with the following formula.

    \[\pi\cdot d_{b} \cdot l_{d} \cdot f_{bu}=f_{y}\cdot A_{s}\]

    where:

    db is the diameter of the reinforcement bar, ld is the development length, fbu is the bond strength, fy is the yield strength of the reinforcement, and As is the area of the reinforcement rebar.

    From the preceding, the formula for calculating bond strength can be easily derived:

    \[f_{bu}=\frac{f_{y}\cdot A_{s}}{\pi\cdot d_{b} \cdot l_{d} }\]

    The development length ld is then determined according to ACI 318-19 Table 25.4.2.3 as follows:

    \[l_{d}=\left( \frac{f_{y}\cdot\psi_{t}\cdot\psi_{e}\cdot\psi_{g}}{C\cdot\lambda\sqrt{f'_{c}}} \right)\cdot d_{b}\]

    where:

    C = 25 (2.1 for metric) for no. 6 and smaller bars and deformed wires, C = 20 (1.7 for metric) for no. 7 and larger bars, λ = 1.0 for normal weight concrete, ψt, ψe, ψg are determined according to ACI 318-19 Table 25.4.2.3. 

    Only uncoated or zinc-coated (galvanized) reinforcement is supported, so ψe = 1.0. ψg is automatically determined from the reinforcement grade, and ψt is automatically derived from the position of the reinforcement in the model and from the direction of concreting that can be set in the application for each project item as follows.

    inline image in article

    \[ \textsf{\textit{\footnotesize{Fig. 45\qquad Direction of concreting}}}\]

    These verifications are carried out with respect to the appropriate limit values for the respective parts of the structure (i.e., in spite of having a single grade both for concrete and reinforcement material, the final stress-strain diagrams will differ in each part of the structure due to tension stiffening and compression softening effects).

    Anchorage -  Total force

    Total force Ftot and limit force Flim

    The total force Ftot is a result of the finite element analysis and can be defined in two ways.

    \[F_{tot}=A_{s} \cdot f_{s}\]

    where As is the area of the reinforcement bar and fs is the stress in the bar.

    Or as a sum of the anchorage force Fa and the bond force Fbond.

    \[F_{tot}=F_{a}+F_{bond}\]

    where Fa is the actual force in the anchorage spring and Fbond is the bond force that can be obtained by integrating the bond stress τb along the length of reinforcement bar l.

    \[F_{bond}=C_{s} \cdot \int_{0}^{l}\tau_{b}\left( x \right)dx\]

    Cs is the circumference of the reinforcement bar.

    The limit force Flim is the maximum force in the element of the rebar considering the strength of the rebar and also anchoring conditions (bond between concrete and reinforcement and anchorage hooks, loops, etc.).

    \[F_{lim}=min\left( F_{lim,bond}+F_{au},F_{u} \right)\]

    \[F_{u}=f_{y,lim}\cdot A_{s}\]

    \[F_{au}=\beta\cdot f_{y,lim}\cdot A_{s}\]

    \[F_{lim,bond}=C_{s}\cdot l \cdot f_{bu}\]

    where Cs is the circumference of the reinforcement bar, and l is the length from the beginning of the rebar to the point of interest.

    inline image in article

    \[ \textsf{\textit{\footnotesize{Fig. 46\qquad Definition of the limit force Flim}}}\]


    \[F_{lim,2}=F_{lim,1}+F_{lim,add}\]

    where Flim,add is the additional force calculated from the magnitude of the angle between neighboring elements. Flim,2 must be always lower than Fu.


    The available anchorage types in CSFM include a straight bar (i.e., no anchor end reduction), 90-degree hook, 180-degree hook, perfect bond, and continuous bar. All these types, along with the respective anchorage coefficients β, are shown in Fig. 47 for longitudinal reinforcement. The values of the adopted anchorage coefficients are derived from the comparison of the equation from section ACI 318-19 25.4.3.1 and equations taken from section ACI 318-19 25.4.2.3. It should be noted that, in spite of the different available options, CSFM distinguishes three types of anchorage ends: (i) no reduction in the anchorage length, (ii) a reduction of 30% of the anchorage length in the case of a normalized anchorage, and (iii) perfect bond.

    inline image in article

    \[ \textsf{\textit{\footnotesize{Fig. 47\qquad  Available anchorage types and respective anchorage coefficients for longitudinal reinforcing bars in CSFM:}}}\]

    \[ \textsf{\textit{\footnotesize{(a) straight bar; (b) 90-degree hook; (c) 180-degree hook; (d) perfect bond; (e) continuous bar}}}\]

    The anchorage coefficient for stirrups is always - β = 1.0.

    In order to comply with ACI, the anchorage spring should be used in the calculation, the anchorage spring is modified by the β coefficient so the user must use one of the available anchorage types when defining the reinforcement start and end conditions. 



    Structural verifications according to Australian standard AS 3600

    The CSFM is a structural analysis method that satisfies the general rules in Chapters 6.1.1 and 6.1.2 and is defined as (f) non-linear stress analysis in Chapter 6.1.3 - further in Chapter 6.6. 

    In order to satisfy the requirements in Sections 6.6.4 and 6.6.5 - more can be found in AS3600:2018 Sup 1:2022 Section C6.6 - verification and validations of the method were done. Individual articles summarizing the results of verification and validation can be found at the following link.

    Since IDEA StatiCa Detail is a practical design program, factored characteristic compressive cylinder strength at 28 days f'c is used for calculations, as is described in the next chapter.

    Material models in 3D CSFM (AS 3600)

    Concrete - Strength

    The concrete model implemented for strength calculations in CSFM is based on the parabolic-plastic stress-strain curve. The tensile strength is neglected, as it is in classic reinforced concrete design.

    inline image in article

    \[ \textsf{\textit{\footnotesize{Fig. 48\qquad The stress-strain diagram of concrete for Strength analysis}}}\]

    The implementation of CSFM in IDEA StatiCa Detail does not consider an explicit failure criterion in terms of strains for concrete in compression (i.e., after the peak stress is reached, it considers a plastic branch with εcp in maximum value 5%, while AS 3600 Cl. 8.3.1 assumes ultimate strain of less than 0.3%). This simplification does not allow the deformation capacity of structures failing in compression to be verified. However, the strength is properly predicted when the increase in the brittleness of concrete as its strength rises is considered by means of the \(\eta_{fc}\) reduction factor defined in fib Model Code 2010 as follows:

    \[f'_{c,lim}=\alpha_{2}\cdot\phi_{s} \cdot \eta_{fc}\cdot f'_{c}\]

    \[{\eta _{fc}} = {\left( {\frac{{30}}{{{f'_{c}}}}} \right)^{\frac{1}{3}}} \le 1\]

    where:

    α2 is the reduction factor of concrete compressive strength defined in AS 3600 Cl. 8.3.1
    When using a parabola-rectangle stress-strain diagram, it is necessary to reduce the maximum compressive stress by this factor. This averages the stress distribution in the compression zone in such a way that the resulting compressive strength is less than or equal to the compressive strength calculated using a stress-strain diagram with a decreasing plastic branch. An analogous approach is defined for the Rectangular stress block in Chapter 8.1.3.

    Φs is the stress reduction factor for concrete. The default value is set according to AS 3600 Table 2.2.3.

    f'c is the concrete cylinder strength (in MPa for the definition of \( \eta_{fc} \)).

    Reinforcement

    A perfectly elasto-plastic stress-strain diagram with a defined yield point for the non-prestresses reinforcement is considered, see AS 3600 Section 3.2. The definition of this diagram only requires the basic properties of the reinforcement to be known – the strength and modulus of elasticity.

    The reinforcement stress-strain diagram can be also defined by the user, but in this case, it is impossible to assume the tension stiffening effect (it is impossible to calculate crack width). 

    inline image in article

    \[ \textsf{\textit{\footnotesize{Fig. 49 \qquad Stress-strain diagram of reinforcement}}}\]

    where:

    Φs is the strength reduction factor for reinforcement. Where the default value is set according to AS 3600 Table 2.2.3.

    fy is the yield strength of reinforcement

    Es modulus of elasticity of reinforcement

    Tension stiffening (Fig. 50)  is accounted for automatically by modifying the input stress-strain relationship of the bare reinforcing bar in order to capture the average stiffness of the bars embedded in the concrete (εm).

    inline image in article

    \[ \textsf{\textit{\footnotesize{Fig. 50\qquad Scheme of tension stiffening.}}}\]

    Stress and strength reduction factors and load factors

    The Compatible Stress Field Method is compliant with modern design codes. As the calculation models only use standard material properties, the partial safety factor format prescribed in the design codes can be applied without any adaptation. In this way, the input loads are factored, and the characteristic material properties are reduced using the respective stress reduction factors, exactly as in conventional concrete analysis.

    Values of stress reduction factors are prescribed in AUS 3600 Cl. 2.2.3 and other sections depicted in the following figure.

    inline image in article

    \[ \textsf{\textit{\footnotesize{Fig. 51\qquad The setting of stress reduction factors in IDEA StatiCa Detail.}}}\]


    Load factors for Strength combinations shall be defined according to AS 3600 Cl. 4.2.2. Load factors for Serviceability combinations shall be determined according to Table 4.1. For all templates, load factors are already predefined.

    inline image in article

    \[ \textsf{\textit{\footnotesize{Fig. 52\qquad The setting of load factors in Idea StatiCa Detail.}}}\]

    Strength and anchorage verifications in Detail 3D

    The different verifications required by AS 3600 are assessed based on the direct results provided by the model. Verifications are carried out for concrete strength, reinforcement strength, and anchorage (bond shear stresses).

    Strength - Concrete

    The concrete strength in compression is evaluated as the ratio between the maximum Equivalent principal stress fc,eq (also σc,eq in previous text) obtained from FE analysis and the limit value f'c,lim.

    Equivalent Principal Stress expresses the equivalent uni-axial stress for a general tri-axial stress state.

    \[f_{c,eq} = \sigma_{c3} - \sigma_{c1}\]

    The fc,eq value can, therefore, be directly compared with uniaxial strength limits. This expression is derived from the implementation of the Mohr-Coulomb plasticity theory, conservatively assuming the angle of internal friction φ = 0°.

    Strength - Reinforcement

    The strength of the reinforcement is evaluated in both tension and compression as the ratio between the stress in the reinforcement at the cracks fs and the specified limit value fsy,lim.

    \[f_{sy,lim} = \phi_{s} \cdot f_{sy}\]

    Strength - Anchors

    Anchors are checked for normal stresses in a similar way to reinforcement, where the limit value fsy,lim is determined. 


    To make it easier to navigate the following text, we will first divide anchoring into three groups in terms of code-checking according to AS 5216 and AS 4100.


    Group 1

    • Anchorage Types
      • Cast-in plate
      • Base plate - Stand-off = direct 
      • Base plate - Stand-off = Mortar joint - thickness of mortar less than 0.5 times the anchor diameter
      • Single anchor with projected length less than 0.5 times anchor diameter
    • Anchor code-checks
      • Tension/compression
        • All materials in tension – AS 5216 chap. 6.2.2
        • All anchor types in compression – AS 4100 chap. 6.3.3
      • Shear without lever arm
        • All materials – AS 5216 chap. 7.2.2.2
      • Interaction of tension and shear - AS 5216 chap. 8.1.1


    Group 2

    • Anchorage Types
      • Base plate - Stand-off = Mortar joint - thickness of mortar more than 0.5 times the anchor diameter
    • Anchor code-checks
      • Tension/compression
        • All materials in tension – AS 5216 chap. 6.2.2
        • All anchor types in compression – AS 4100 chap. 6.3.3
      • Shear with lever arm
        • All materials – AS 5216 chap. 7.2.2.3

    Interaction verification according to AS 5216 shall not be required for post-installed fasteners or anchor channel bolts subjected to shear load that has a lever arm since this interaction is accounted for in Equation 7.2.2.3(2).


    Group 3

    • Anchorage types
      • Base plate - Stand-off = gap
      • Single anchor with projected length more than 0.5 times the anchor diameter
    • Anchor code-checks (ACI / AISC)
      • Tension/compression (with buckling)
        • All materials in tension – AS 5216 chap. 6.2.2 or AS 4100 chap. 9.2.2.2 (can be selected in settings)
        • All anchor types in compression – AS 4100 chap. 6.3.3
      • Bending
        • For all anchor types – AS 4100 chap. 5.1
      • Shear
        • For all anchor types – AS 4100 chap. 5.11
    • Interaction described further


    Tensile resistance of anchor according to AS 5216 chap. 6.2.2

    \[\phi N_{tf}=\phi_{Ms}\,A_s\,f_{uf}\]

    where:

    • ϕNtf – design resistance of anchor in tension
    • \(\phi_{Ms}=\dfrac{5 f_{yf}}{6 f_{uf}}\le \dfrac{1}{1.4}\) – strength reduction factor for anchors in tension according to AS 5216 Table 3.2.4
    • As – tensile stress area (reduced by thread)
    • fuf – specified tensile strength of anchor steel 


    Shear resistance of anchor according to AS 5216 chap. 7.2.2.2

    The steel strength in shear without lever arm is determined as:

    \[\phi V_{Rk,s}=\phi_{Ms}\,0.62\,f_{uf}\,A\]

    where:

    • ϕVtf – design resistance of anchor in shear
    • As  – tensile stress area (reduced by thread)
    • fuf – specified tensile strength of anchor steel 
    • \(\phi_{Ms}=\begin{cases}\dfrac{f_{yf}}{f_{uf}} \le 0.8, & \text{when } f_{uf}\le 800~\text{MPa and } \dfrac{f_{yf}}{f_{uf}}\le 0.8 \\[8pt] \dfrac{2}{3}, & \text{when } f_{uf}> 800~\text{MPa or } \dfrac{f_{yf}}{f_{uf}}> 0.8 \end{cases}\)

    The design resistance of a single fastener in case of steel failure, or fasteners with a ratio hef / dnom < 5 and a concrete compressive strength class < 20 MPa, the design resistance ϕVtf should be multiplied by a factor of 0.8.


    Shear resistance of anchor according to AS 5216 chap. 7.2.2.3

    The steel strength in shear with lever arm is determined as:

    \[\phi V_{Rk,s,M}=\phi_{Ms}\,\frac{\alpha_M\,M_{Rk,s}}{l_a}\]

    where:

    • αM = 2 – parameter accounting for the degree of restraint, fixture is assumed to be prevented from rotating – Cl. 4.2.2.4
    • \(M_{Rk,s}=M_{Rk,s}^{0}\left(1-\dfrac{N^{*}}{\phi_{Ms}\,N_{Rk,s}}\right)\) – characteristic flexural strength of the fastener influenced by the axial load
    • \(l_a = a_3 + e_1 - l_e\) – length of the lever arm
    • \(a_3 = 0.5\,d \) – distance between the assumed point of restraint of the fastener loaded in shear and the surface of the concrete
    • \(e_1 = t_g + \dfrac{t_{fix}}{2}\) – eccentricity of the applied shear load relative to the concrete surface, neglecting the thickness of a levelling grout or mortar
    • tg – thickness of grout layer
    • tfix – thickness of base plate
    • d – nominal diameter of the fastener
    • N* – design tension load
    • ϕMs NRk,s – tensile strength of a fastener to steel failure
    • \(M_{Rk,s}^{0}=1.2\,W_{el}\,f_{uf}\) – characteristic flexural strength of the fastener – ETAG 001 – Annex C
    • \(W_{el}=\dfrac{\pi d_s^{3}}{32}\) – elastic section modulus of the fastener, the diameter reduced by threads
    • \(d_s=\sqrt{\dfrac{4A_s}{\pi}}\) – is used instead of nominal diameter for threaded rods and washer plates
    • \(\phi_{Ms}=\begin{cases}\dfrac{f_{yf}}{f_{uf}} \le 0.8, & \text{when } f_{uf}\le 800~\text{MPa and } \dfrac{f_{yf}}{f_{uf}}\le 0.8 \\[8pt] \dfrac{2}{3}, & \text{when } f_{uf}> 800~\text{MPa or } \dfrac{f_{yf}}{f_{uf}}> 0.8 \end{cases}\)


    Interaction in tension and shear according to AS 5216 chap. 8.1.1

    \[\left(\frac{N^{*}}{\phi N_{Rk,s}}\right)^{2}+\left(\frac{V^{*}}{\phi V_{Rk,s}}\right)^{2}\le 1.0\]

    Where:

    • N* – design tension force applied to a single fastener
    • V* – design shear force applied to a single fastener 
    • ϕNRk,s – design tensile strength of a single fastener
    • ϕVRk,s – design shear strength of a single fastener


    Tensile resistance of anchor according to AS 4100 chap. 9.2.2.2

    \[N_{tf}^{*}\le \phi_{a,t} A_s f_{uf}\]

    where:

    • As – tensile stress area (reduced by thread) as specified in AS 1275
    • ϕa,t – capacity factor for bolts according to AS 4100 Table 3.4


    Compressive resistance of anchor according to AS 4100 chap. 6.3.3

    \[\phi N_c=\phi\,\alpha_c\,N_s=\phi\,\alpha_c\,k_f\,A_s\,f_y \le \phi N_s\]

    where:

    • ϕa,c – capacity factor for bolts according to AS 4100 Table 3.4
    • \(N_c=\alpha_c\,N_s \le N_s\) – nominal member capacity – Cl. 6.3.3
    • \(N_s=k_f\,A_s\,f_y\) – nominal section capacity – Cl. 6.2
    • fy – anchor yield strength
    • \(l_e=k_e\,l\) – effective length – Cl. 6.3.2
    • ke = 2 – member effective length factor, it is assumed conservatively that the anchor is fixed and the bottom and pinned at the top as a sway member
    • \(l = l_{gap}+\dfrac{d}{2}+\dfrac{t_p}{2}\) – assumed length of the member
    • lgap – gap height
    • d – nominal bolt diameter
    • tp – base plate thickness
    • \(\alpha_c=\xi\left[\,1-\sqrt{\,1-\left(\dfrac{90}{\xi\,\lambda}\right)^2}\,\right]\) – member slenderness reduction factor
    • \(\xi=\frac{\left(\dfrac{\lambda}{90}\right)^2+1+\eta}{2\left(\dfrac{\lambda}{90}\right)^2}\)
    • \(\lambda=\lambda_n+\alpha_a\alpha_b\)
    • \(\eta=0.00326(\lambda-13.5)\ge 0\)
    • \(\lambda_n=\left(\frac{l_e}{r}\right)\sqrt{k_f}\,\sqrt{\dfrac{f_y}{250}}\)
    • \(\alpha_a=\dfrac{2100(\lambda_n-13.5)}{\lambda_n^2-15.3\lambda_n+2050}\)
    • αb = 0.5 – compression member section constant - Table 6.3.3
    • kf = 1 – form factor – Cl. 6.2.2
    • \(r=\sqrt{\dfrac{I_s}{A_s}}\) – radius of gyration
    • \(I_s=\dfrac{1}{64}\,\pi d_s^{4}\) – moment of inertia
    • As – tensile stress area of a bolt as defined in AS 1275
    • \(d_s=\sqrt{\dfrac{4A_s}{\pi}}\) – diameter reduced by threads


    Bending resistance of anchor according to AS 4100 chap. 5.1

    \[\phi M_s=\phi\,f_y\,Z_e\]

    where:

    • ϕa,b – capacity factor for bolts according to AS 4100 Table 3.4
    • fy – anchor yield strength
    • \(Z_e=\min\left(S,\,1.5\,Z\right)\) – effective section modulus – Cl. 5.2.3
    • \(S=\dfrac{d^{3}}{6}\) – plastic section modulus; if a thread exists, nominal diameter d is replaced by diameter reduced by threads, ds
    • \(Z=\dfrac{1}{32}\,\pi d^{3}\) – elastic section modulus; if a thread exists, nominal diameter d is replaced by diameter reduced by threads, ds


    Shear resistance of anchor according to AS 4100 chap. 5.11

    \[\phi V_w = 0.6\,f_y\,A_w\]

    where:

    • ϕ – capacity factor for bolts according to AS 4100 Table 3.4
    • fy – anchor yield strength
    • Aw = 0.844 As – shear area
    • As – tensile stress area (reduced by thread)


    Interaction in tension and bending 

    \[\frac{N_{tf}^{*}}{\phi N_t}+\frac{M^{*}}{\phi M_s}\le 1\]

    where:

    • N*tf   – design tensile force
    • ϕNt – design tensile resistance of anchor
    • M*   – design bending moment due to shear on a lever arm
    • ϕMs – design bending resistance of anchor


    Interaction in compression and bending

    \[\frac{N^{*}}{\phi N_c}+\frac{M^{*}}{\phi M_s}\le 1\]

    where:

    • N*   – design compressive force
    • ϕNc – design compressive resistance of anchor
    • M*   – design bending moment due to shear on a lever arm
    • ϕMs – design bending resistance of anchor


    Concrete crushing at the anchor–concrete interface

    The anchor shear resistance is also limited from the point of view of concrete crushing at the anchor–concrete interface. The limit values and the method for determining them are described in detail in the article - Shear behaviour of anchors in reinforced concrete. Once the contact force reaches this limit, the stop criterion is triggered, and the analysis is terminated before the resistance is exceeded.​ 


    Pull-out check for headed anchors (Washer plates and Headed studs)

    For headed anchors, an additional stop criterion is implemented to check the concrete bearing (crushing) above the anchor head - pull-out. During the analysis, the compressive force transferred through the head-to-concrete contact is monitored and compared with the limit value given by AS 5216:2021 Cl. 6.3.4 (pull-out failure of headed fastenings).

    \[N_{Rd,p} = \Phi_{Mp} \cdot k_{2} \cdot A_{h} \cdot f'_{c}\]

    where:

    • \( \Phi_{Mp}\) is the strength reduction factor - Table 3.2.4
    • Ah is the load bearing area of the head of the fastener (without the shank area). 
    • f'c is the specified compressive strength of concrete
    • k2 is always taken as 7.5, i.e. the value for cracked concrete. This is consistent with the CSFM approach used in Detail, where the tensile strength of concrete is neglected and the concrete is assumed to be cracked in tension.

    Once the contact force reaches this code-based limit, the stop criterion is triggered and the analysis is terminated before the design pull-out resistance is exceeded.​ 

    Anchorage -  Bond stress

    The bond shear stress is evaluated independently as the ratio between the bond stress τb calculated by FE analysis and the design ultimate bond stress fbu.

    For the determination of the design ultimate bond stress fbu, the formula C13.1.2.2 defined in AS3600:2018 Sup 1:2022 is considered in the application.

    \[f_{bu}=\frac{k_{2}}{k_{1} \cdot k_{3}} \cdot (0.5 \cdot \sqrt{f'_{c}})\]

    Where f'c ≤ 65 MPa (in the formula is in MPa), and k factors are determined from AS 3600 Cl. 13.1.2.2 as follows:

    k3 = 0.7                                 (conservative value for all reinforcement)
    k2 = (132 - db) / 100             (db is diameret of rebar in millimeters)
    = 1.3 for a horizontal bar with more than 300 mm of concrete cast below the bar, or 1.0 otherwise

    k1 is automatically derived from the position of the reinforcement in the model and from the direction of concreting that can be set in the application for each project item as follows.

    inline image in article

    \[ \textsf{\textit{\footnotesize{Fig. 53\qquad Direction of concreting}}}\]

    The basic development length Lsy,tb is calculated according to formula 13.1.2.2 in AS 3600 as follows:

    \[L_{sy,tb}=\frac{0.5\cdot k_{1}\cdot k_{3}\cdot f_{sy}\cdot d_{b}}{k_{2}\cdot \sqrt{f'_{c}}}\ge 29 \cdot k_{1}\cdot d_{b}\]

    As can be seen in the formula, the basic development length Lsy,tb is limited from below, and therefore the design ultimate bond stress fbu must be limited in the same way in the application, so the following applies:

    \[f_{bu}\le \frac{f_{sy}}{116 \cdot k_{1}} \]

    Where fsy is in MPa.

    The derivation of the fbu limitation is as follows:

    \[f_{bu}= \frac{f_{sy}\cdot A_{s}}{ \pi \cdot d_{b} \cdot L_{sy,tb}}=\frac{f_{sy}\cdot \pi \cdot d_{b}^{2}}{4 \cdot \pi \cdot d_{b} \cdot 29 \cdot k{1} \cdot d_{b}} =\frac{f_{sy}}{116 \cdot k_{1}} \]


    Total force Ftot and limit force Flim

    The total force Ftot is a result of the finite element analysis and can be defined in two ways.

    \[F_{tot}=A_{s} \cdot f_{s}\]

    where As is the area of the reinforcement bar and fs is the stress in the bar.

    Or as a sum of the anchorage force Fa and the bond force Fbond.

    \[F_{tot}=F_{a}+F_{bond}\]

    where Fa is the actual force in the anchorage spring and Fbond is the bond force that can be obtained by integrating the bond stress τb along the length of reinforcement bar l.

    \[F_{bond}=C_{s} \cdot \int_{0}^{l}\tau_{b}\left( x \right)dx\]

    Cs is the circumference of the reinforcement bar.

    The limit force Flim is the maximum force in the element of the rebar considering the strength of the rebar and also anchoring conditions (bond between concrete and reinforcement and anchorage hooks, loops, etc.).

    \[F_{lim}=min\left( F_{lim,bond}+F_{au},F_{u} \right)\]

    \[F_{u}=f_{y,lim}\cdot A_{s}\]

    \[F_{au}=\beta\cdot f_{y,lim}\cdot A_{s}\]

    \[F_{lim,bond}=C_{s}\cdot l \cdot f_{bu}\]

    where Cs is the circumference of the reinforcement bar, and l is the length from the beginning of the rebar to the point of interest.

    inline image in article

    \[ \textsf{\textit{\footnotesize{Fig. 54\qquad Definition of the limit force Flim}}}\]


    \[F_{lim,2}=F_{lim,1}+F_{lim,add}\]

    where Flim,add is the additional force calculated from the magnitude of the angle between neighboring elements. Flim,2 must always be lower than Fu.


    The available anchorage types in CSFM include a straight bar (i.e., no anchor end reduction), Standard cog, Standard hook, perfect bond, and continuous bar. All these types, along with the respective anchorage coefficients β, are shown in Fig. 55 for longitudinal reinforcement. The values of the adopted anchorage coefficients are derived from AS 3600 Cl. 13.1.2. It should be noted that CSFM distinguishes three types of anchorage ends: (i) no reduction in the anchorage length, (ii) a reduction of 50% of the anchorage length in the case of a normalized anchorage, and (iii) perfect bond.

    inline image in article

    \[ \textsf{\textit{\footnotesize{Fig. 55\qquad  Available anchorage types and respective anchorage coefficients for longitudinal reinforcing bars in CSFM:}}}\]

    \[ \textsf{\textit{\footnotesize{(a) straight bar; (b) Standard cog; (c) Standard hook; (d) perfect bond; (e) continuous bar}}}\]

    The anchorage coefficient for stirrups is always - β = 1.0.

    In order to comply with AS 3600, the anchorage spring should be used in the calculation. The anchorage spring is modified by the β coefficient, so the user must use one of the available anchorage types when defining the reinforcement start and end conditions. 


    Take the latest version of IDEA StatiCa for a test drive today

    Verifications and validations

    References

    1. Wu, D.; Wang, Y.; Qiu, Y.; Zhang, J.; Wan, Y.-K. Determination of Mohr–Coulomb Parameters from Nonlinear Strength Criteria for 3D Slopes. Math. Probl. Eng. 2019, 6927654.
    2. Lelovic, S.; Vasovic, D.; Stojic, D. Determination of the Mohr-Coulomb Material Parameters for Concrete under Indirect Tensile Test. Tech. Gaz. 201926, 412–419.
    3. Galic, M.; Marovic, P.; Nikolic, Ž. Modified Mohr-Coulomb—Rankine material model for concrete. Eng. Comput. 201128, 853–887.
    4. Fan, Q.; Gu, S.C.; Wang, B.N.; Huang, R.B. Two Parameter Parabolic Mohr Strength Criterion Applied to Analyze The Results of the Brazilian Test. Appl. Mech. Mater. 2014624, 630–634.